BOGOS End Tomorrow! | Buy One Get One Deals Shop Now
CLOSE
Shipping to US Flag United States
Free shipping over $79
Fast Cash Week Ends Tomorrow! | Earn $25 Fast Cash When You Spend $199 Learn More

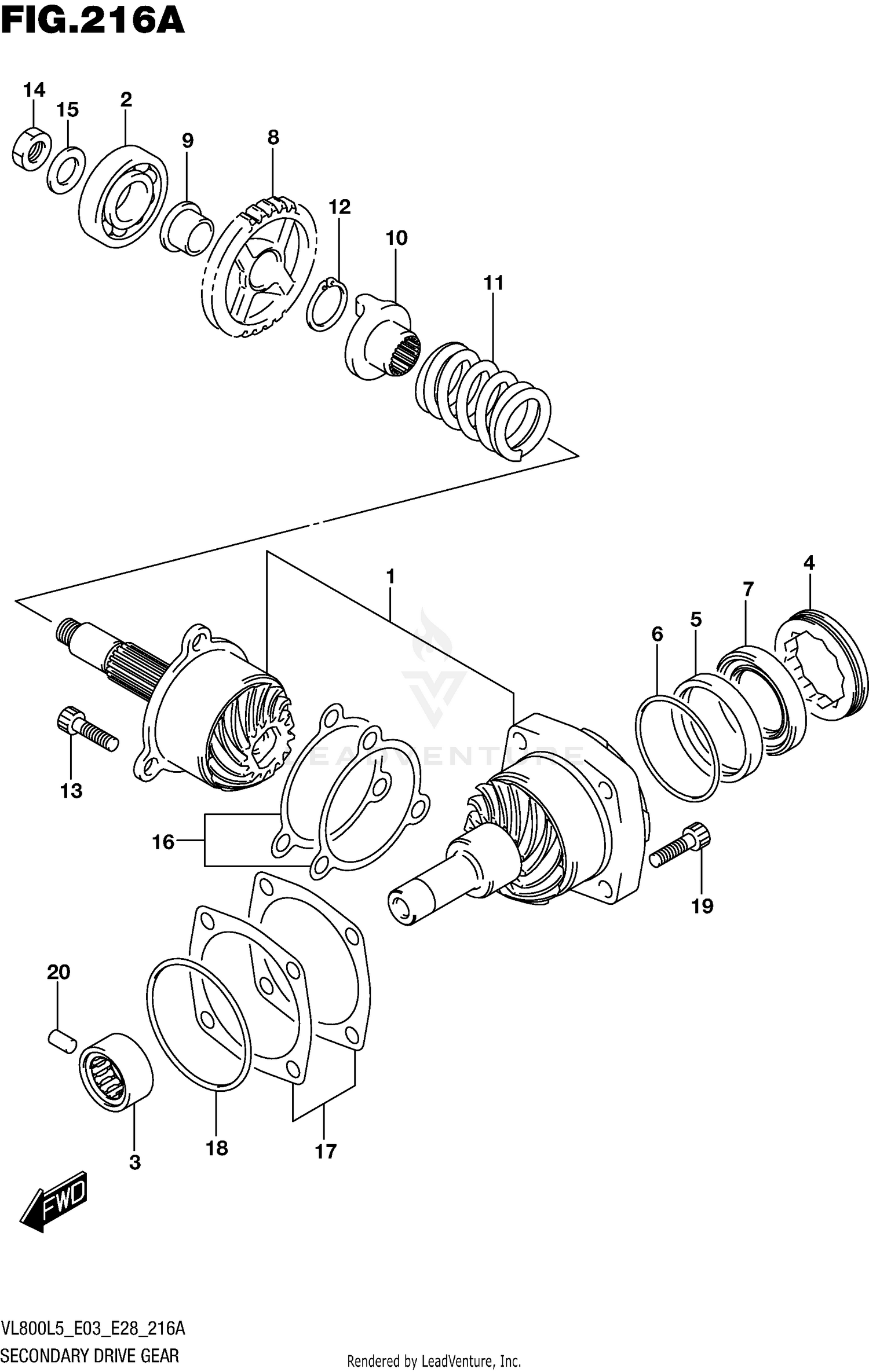
2015 Suzuki VL800B SECONDARY DRIVE GEAR

Set this as my ride
SECONDARY DRIVE GEAR

WARNING Cancer and Reproductive Harm www.P65Warnings.ca.gov.

All 2015 Suzuki VL800B Part Groups
Added to your cart
CLOSE