Kickstart your Riding Season with Bike Prep and Riding Gear Shop Now
CLOSE
Shipping to US Flag United States
Free shipping over $79
Fast Cash Week | Earn $10 When you Spend $99 + $25 When You Spend $199 Shop Now

2018 Suzuki SV650 OEM Parts

Set this as my ride

View all parts for your 2018 Suzuki SV650

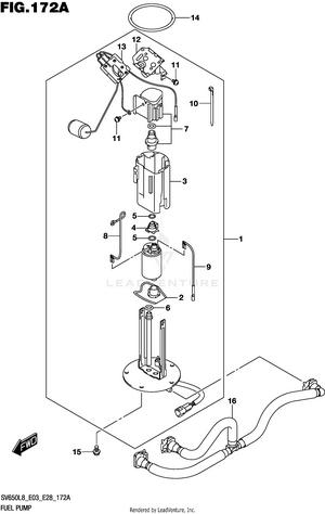
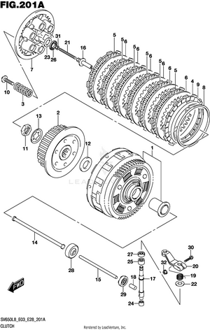
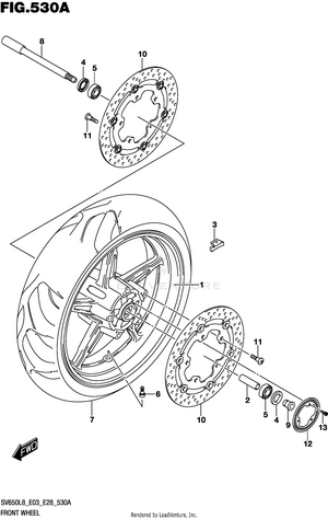
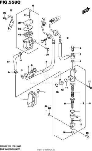
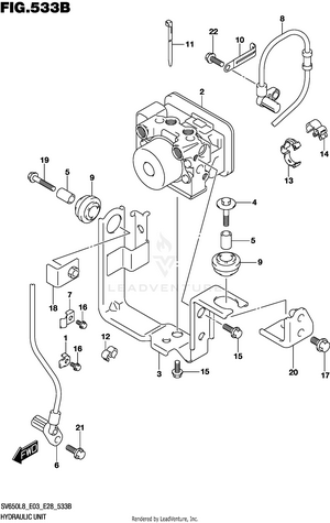
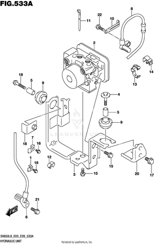
AIR CLEANER BATTERY (SV650AL8 E28) BATTERY (SV650AL8 E33) BATTERY (SV650L8 E03) BATTERY (SV650L8 E33) BATTERY HOLDER CAM CHAIN CAMSHAFT/VALVE CLUTCH CRANKCASE CRANKCASE COVER CRANKSHAFT CYLINDER CYLINDER HEAD (FRONT) CYLINDER HEAD (REAR) ELECTRICAL (SV650AL8 E28) ELECTRICAL (SV650AL8 E33) ELECTRICAL (SV650L8 E03) ELECTRICAL (SV650L8 E33) EVAP SYSTEM (SV650AL8 E33) EVAP SYSTEM (SV650L8 E33) FOOTREST FRAME FRAME CENTER COVER FRAME COVER (SV650AL8 E28) (FOR AGQ) FRAME COVER (SV650AL8 E28) (FOR YVB,YKV) FRAME COVER (SV650AL8 E33) (FOR AGQ) FRAME COVER (SV650AL8 E33) (FOR YVB,YKV) FRAME COVER (SV650L8 E03) (FOR AGQ) FRAME COVER (SV650L8 E03) (FOR YVB,YKV) FRAME COVER (SV650L8 E33) (FOR AGQ) FRAME COVER (SV650L8 E33) (FOR YVB,YKV) FRAME HEAD COVER FRONT BRAKE HOSE (SV650AL8 E28) FRONT BRAKE HOSE (SV650AL8 E33) FRONT BRAKE HOSE (SV650L8 E03) FRONT BRAKE HOSE (SV650L8 E33) FRONT CALIPER FRONT FENDER (SV650AL8 E28) FRONT FENDER (SV650AL8 E33) FRONT FENDER (SV650L8 E03) FRONT FENDER (SV650L8 E33) FRONT FORK DAMPER FRONT MASTER CYLINDER FRONT WHEEL FUEL PUMP FUEL TANK (SV650AL8 E28) (FOR AGQ) FUEL TANK (SV650AL8 E28) (FOR YVB,YKV) FUEL TANK (SV650AL8 E33) (FOR AGQ) FUEL TANK (SV650AL8 E33) (FOR YVB,YKV) FUEL TANK (SV650L8 E03) (FOR AGQ) FUEL TANK (SV650L8 E03) (FOR YVB,YKV) FUEL TANK (SV650L8 E33) (FOR AGQ) FUEL TANK (SV650L8 E33) (FOR YVB,YKV) FUEL TANK FRONT COVER GASKET SET GEAR SHIFTING HANDLE LEVER HANDLE SWITCH HANDLEBAR HEADLAMP HEADLAMP COVER HYDRAULIC UNIT (SV650AL8 E28) HYDRAULIC UNIT (SV650AL8 E33) LABEL (SV650AL8 E28) LABEL (SV650AL8 E33) LABEL (SV650L8 E03) LABEL (SV650L8 E33) LOCK SET MAGNETO MUFFLER OIL COOLER OIL PUMP OPTIONAL OPTIONAL (SEAT) RADIATOR RADIATOR HOSE REAR CALIPER REAR COMBINATION LAMP REAR CUSHION LEVER REAR FENDER REAR MASTER CYLINDER (SV650AL8 E28) REAR MASTER CYLINDER (SV650AL8 E33) REAR MASTER CYLINDER (SV650L8 E03) REAR MASTER CYLINDER (SV650L8 E33) REAR SWINGINGARM REAR WHEEL (SV650AL8 E28) REAR WHEEL (SV650AL8 E33) REAR WHEEL (SV650L8 E03) REAR WHEEL (SV650L8 E33) SEAT SPEEDOMETER (SV650AL8 E28) SPEEDOMETER (SV650AL8 E33) SPEEDOMETER (SV650L8 E03) SPEEDOMETER (SV650L8 E33) STAND STARTER CLUTCH STARTING MOTOR STEERING STEM THROTTLE BODY (SV650AL8 E28) THROTTLE BODY (SV650AL8 E33) THROTTLE BODY (SV650L8 E03) THROTTLE BODY (SV650L8 E33) TRANSMISSION TURNSIGNAL LAMP WATER PUMP WIRING HARNESS (SV650AL8 E28) WIRING HARNESS (SV650AL8 E33) WIRING HARNESS (SV650L8 E03) WIRING HARNESS (SV650L8 E33)