BOGOS | Buy One Get One Deals Shop Now
CLOSE
Shipping to US Flag United States
Free shipping over $79
My Ride: 2014 Honda CRF150R Big Wheel
Fast Cash Week | Earn $25 Fast Cash When You Spend $199 Learn More

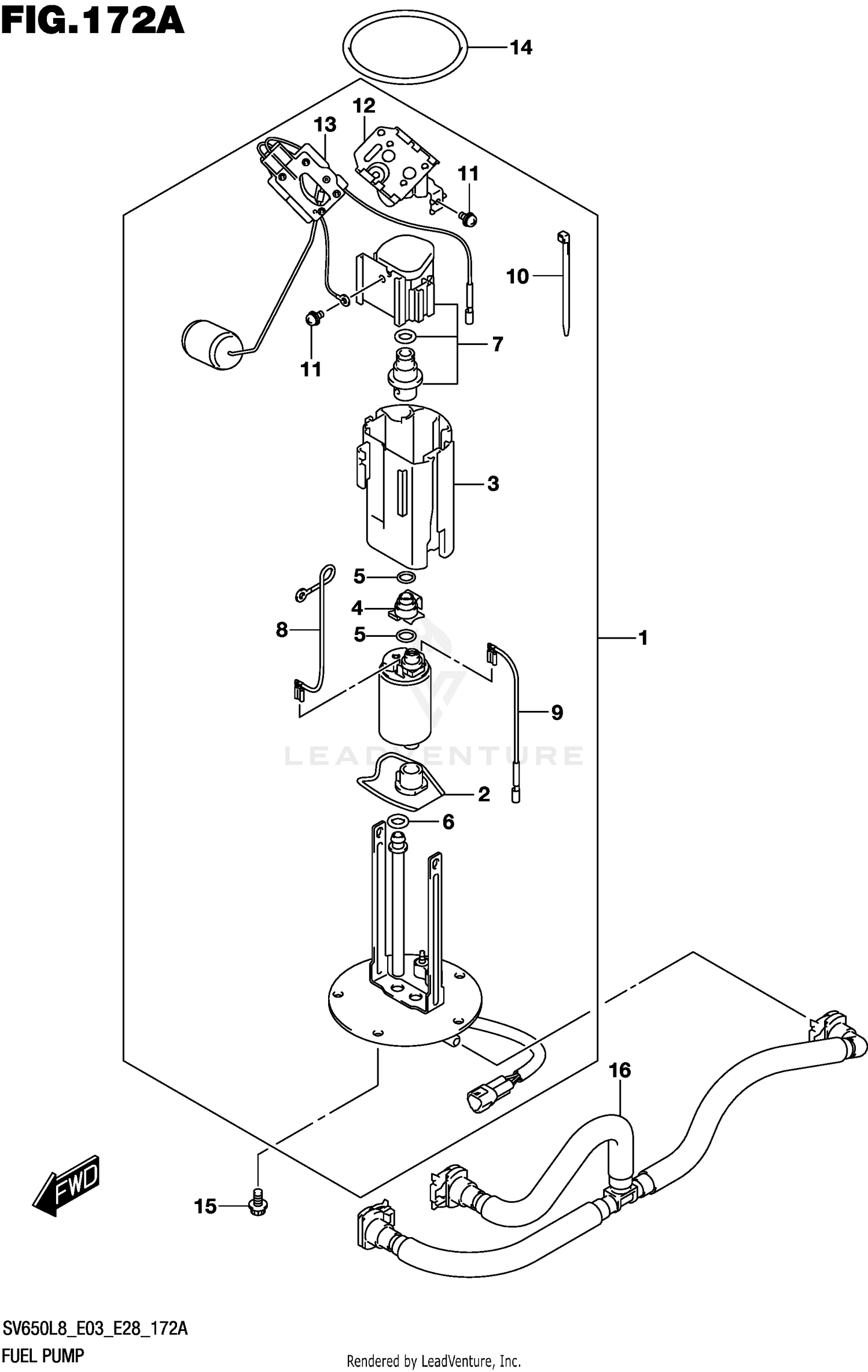
2018 Suzuki SV650 FUEL PUMP

Set this as my ride
FUEL PUMP

WARNING Cancer and Reproductive Harm www.P65Warnings.ca.gov.

All 2018 Suzuki SV650 Part Groups
Added to your cart
CLOSE