Renthal Deal! Up To 10% Off Shop Now
CLOSE
Shipping to US Flag United States
Free shipping over $79
Moto Madness Sale | Get Up To 65% Off Parts & Gear Shop Now

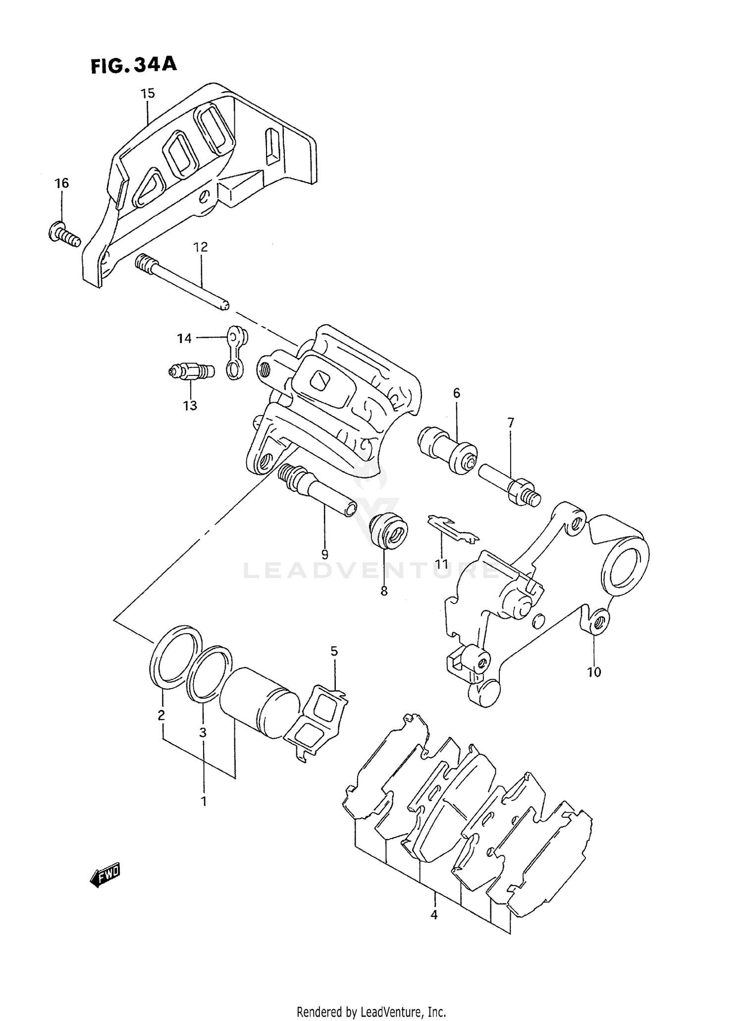
1994 Suzuki RM250 REAR CALIPER (MODEL S)

Set this as my ride
REAR CALIPER (MODEL S)

WARNING Cancer and Reproductive Harm www.P65Warnings.ca.gov.

  • # Part Retail Our Price
    Stock Status Suggested Quantity
  • 69100-43D10-999 no description available Includes Item(s) 1 - 14 Supersedes: 69100-43D30 (CALIPER ASSY,RE)
    This part is currently unavailable.
  • 1
    69100-43830 piston set Retail: $57.17 Price: $53.17
    Expected to Ship in 4-9 Days
  • 2
    69100-13810 seal set, piston Supersedes: 59107-17C00 (SEAL) Retail: $12.21 Price: $11.48
    Expected to Ship in 4-9 Days
  • 3
    59108-17C00 seal, dust
    This part is currently unavailable.
  • 4
    69100-43860 pad set Retail: $68.76 Price: $63.95
    Expected to Ship in 4-9 Days
  • 5
    59315-27C10 spring Retail: $12.63 Price: $6.77
    In Stock
  • 6
    59386-13A00 boot Supersedes: 59386-0AE00 (BOOT) Price: $11.29
    In Stock
  • 7
    59382-14500 pin
    This part is currently unavailable.
  • 8
    59303-14500 boot Supersedes: 59303-0AE00 (BOOT) Price: $7.85
    Expected to Ship in 4-9 Days
  • 9
    59305-27C00 pin Retail: $25.38 Price: $23.86
    Expected to Ship in 4-9 Days
  • 10
    69351-43D01 bracket
    This part is currently unavailable.
  • 11
    69113-43D00 retainer Retail: $10.97 Price: $5.77
    In Stock
  • 12
    69345-43D00 .pin hanger Retail: $14.68 Price: $13.80
    Expected to Ship in 4-9 Days
  • 13
    59121-01A00 bleeder Supersedes: 59121-0AE00 (BLEEDER) Retail: $10.78 Price: $10.13
    In Stock
  • 14
    59122-01A00 cap Price: $6.16
    In Stock
  • 15
    69725-27C30 guard, caliper
    This part is currently unavailable.
  • 16
    02142-0612A screw Supersedes: 02142-06125 (SCREW) Price: $1.90
    In Stock
Added to your cart
CLOSE