Kickstart your Riding Season with Bike Prep and Riding Gear Shop Now
CLOSE
Shipping to US Flag United States
Free shipping over $79
Moto Madness Sale | Get Up To 65% Off Parts & Gear Shop Now

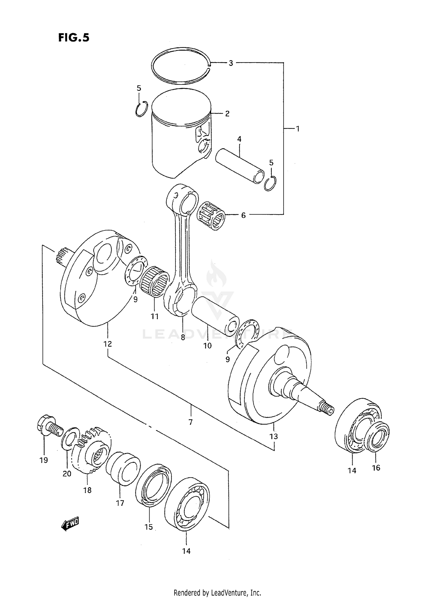
1994 Suzuki RM250 CRANKSHAFT (MODEL P)

Set this as my ride
CRANKSHAFT (MODEL P)

WARNING Cancer and Reproductive Harm www.P65Warnings.ca.gov.

  • # Part Retail Our Price
    Stock Status Suggested Quantity
  • 1
    12110-29E20-0F0 piston ->12110-28E10-0F0W/12141-28E00 (2PC.S) Supersedes: 12110-28E00-0F0 (PISTON)
    This part is currently unavailable.
  • 2
    12141-28E00 ring, piston Retail: $34.00 Price: $31.96
    Expected to Ship in 4-9 Days
  • 3
    12151-37F00 pin, piston Supersedes: 12151-28C00 (PIN, PISTON) Retail: $15.29 Price: $14.37
    Expected to Ship in 4-9 Days
  • 4
    In Stock
  • 5
    09263-18016 bearing, piston pin Retail: $24.62 Price: $23.14
    In Stock
  • 6
    12200-28E00 crankshaft assy Includes Item(s) 7 - 12
    This part is currently unavailable.
  • 7
    12161-28C30 rod, connecting
    This part is currently unavailable.
  • 8
    09160-24027 washer Retail: $24.30 Price: $22.84
    Expected to Ship in 4-9 Days
  • 9
    12211-05D00 pin, crank Supersedes: 12211-28C10 (PIN, CRANK) Retail: $46.81 Price: $44.00
    Expected to Ship in 4-9 Days
  • 10
    09263-24026 bearing Retail: $86.34 Price: $80.30
    Expected to Ship in 4-9 Days
  • 11
    12220-28E00 crankshaft, rh
    This part is currently unavailable.
  • 12
    12260-28E00 crankshaft, lh Retail: $310.93 Price: $261.18
    Expected to Ship in 4-9 Days
  • 13
    09262-25108 bearing
    This part is currently unavailable.
  • 14
    09283-36007 oil seal, rh (36x52x7)
    This part is currently unavailable.
  • 15
    09283-20051 oil seal, lh (20x37x6)
    This part is currently unavailable.
  • 16
    12359-00B20 spacer Supersedes: 12359-28C20 (SPACER)
    This part is currently unavailable.
  • 17
    21111-14321 gear, primary drive (nt:23) Supersedes: 21111-14320 (GEAR, PRIMARY DRIVE (NT:23)) Retail: $82.57 Price: $76.79
    Expected to Ship in 4-9 Days
  • 18
    09103-10339 bolt, primary drive gear Supersedes: 21141-27C11 (BOLT) Retail: $11.52 Price: $10.83
    In Stock
  • 19
    In Stock
  • 20
    12101-28812 top end kit, en OPT Supersedes: 12101-28810 (TOP END KIT, ENGINE (STD)) Retail: $381.63 Price: $320.57
    Expected to Ship in 4-9 Days
  • 21
    SPECIAL NOTE refer to fig.5a(b-13) for
    This part is currently unavailable.
Added to your cart
CLOSE