Renthal Deal! Up To 10% Off Shop Now
CLOSE
Shipping to US Flag United States
Free shipping over $79
My Ride: 2017 Can-Am OUTLANDER MAX 1000 XT
Moto Madness Sale | Get Up To 65% Off Parts & Gear Shop Now

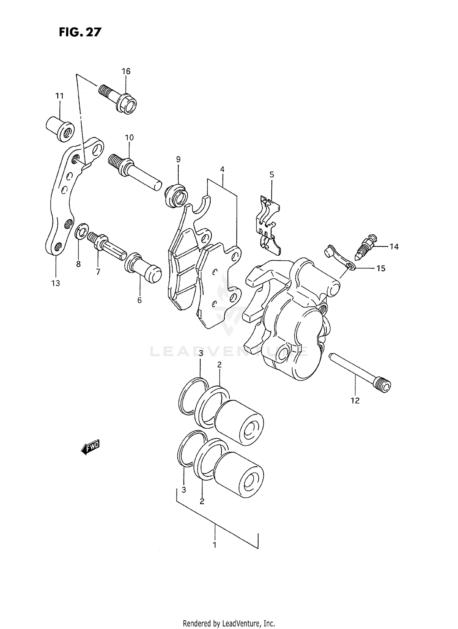
1994 Suzuki RM250 FRONT CALIPER (MODEL P/R)

Set this as my ride
FRONT CALIPER (MODEL P/R)

WARNING Cancer and Reproductive Harm www.P65Warnings.ca.gov.

  • # Part Retail Our Price
    Stock Status Suggested Quantity
  • 59300-27C11-999 caliper assy,fr MODEL P Supersedes: 59300-27C40 (CALIPER ASSY,FR)
    This part is currently unavailable.
  • 59300-27C11-999 caliper assy,fr MODEL R; Includes Item(s) 1 - 15 Supersedes: 59300-27C40 (CALIPER ASSY,FR)
    This part is currently unavailable.
  • 1
    59300-27840 piston set Retail: $61.42 Price: $57.12
    Expected to Ship in 4-9 Days
  • 2
    69100-36810 seal set, piston Supersedes: 59107-00B20 (SEAL) Retail: $11.47 Price: $10.78
    Expected to Ship in 4-9 Days
  • 3
    59108-00B20 dust seal
    This part is currently unavailable.
  • 4
    59300-27860 pad set MODEL P
    This part is currently unavailable.
  • 4
    59300-27810 pad set MODEL R Retail: $65.58 Price: $60.99
    Expected to Ship in 4-9 Days
  • 5
    59315-27C30 spring Supersedes: 59315-27C20 (SPRING) Retail: $11.06 Price: $5.77
    In Stock
  • 6
    59386-13A00 boot Supersedes: 59386-0AE00 (BOOT) Price: $11.29
    In Stock
  • 7
    59382-13A00 bolt MODEL P Price: $11.24
    Expected to Ship in 4-9 Days
  • 7
    59382-27C30 bolt MODEL R Supersedes: 59382-14500 (PIN) Retail: $11.53 Price: $10.84
    Expected to Ship in 4-9 Days
  • 8
    59314-13A00 washer MODEL P Price: $2.53
    Expected to Ship in 4-9 Days
  • 8
    59314-27C30 washer MODEL R Price: $4.17
    Expected to Ship in 4-9 Days
  • 9
    59303-14500 boot Supersedes: 59303-0AE00 (BOOT) Price: $7.85
    Expected to Ship in 4-9 Days
  • 10
    59387-00B20 pin Retail: $23.57 Price: $22.16
    Expected to Ship in 4-9 Days
  • 11
    59388-00B20 nut Retail: $19.27 Price: $18.11
    Expected to Ship in 4-9 Days
  • 12
    59345-00B20 pin Retail: $18.05 Price: $16.97
    In Stock
  • 13
    59351-00B20 bracket Retail: $84.54 Price: $78.62
    In Stock
  • 14
    59121-01A00 bleeder Supersedes: 59121-0AE00 (BLEEDER) Retail: $10.78 Price: $10.13
    In Stock
  • 15
    59122-01A00 cap Price: $6.16
    In Stock
  • 16
    09103-08157 bolt MODEL P Retail: $4.34 Price: $2.77
    In Stock
  • 16
    09103-08157 bolt MODEL R Supersedes: 59389-28E00 (BOLT, FRONT CALIPER) Retail: $4.34 Price: $2.77
    In Stock
  • 17
    SPECIAL NOTE refer to fig.27a(e-8) for
    This part is currently unavailable.
Added to your cart
CLOSE