Kickstart your Riding Season with Bike Prep and Riding Gear Shop Now
CLOSE
Shipping to US Flag United States
Free shipping over $79
Moto Madness Sale | Get Up To 65% Off Parts & Gear Shop Now

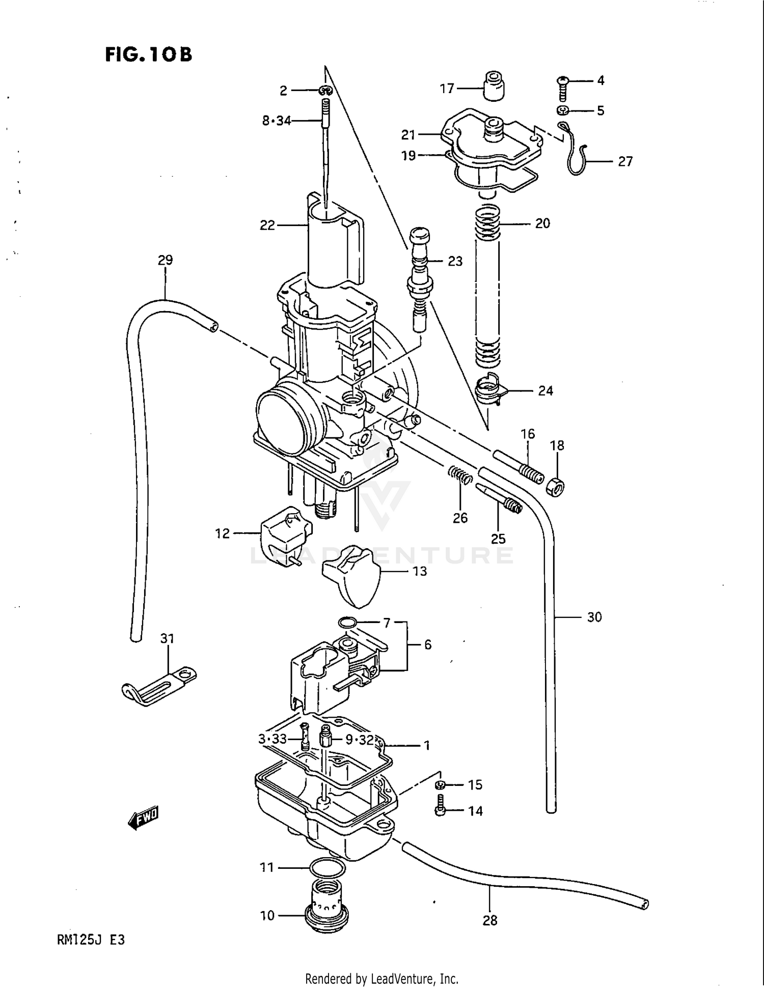
1987 Suzuki RM125 CARBURETOR (MODEL J)

Set this as my ride
CARBURETOR (MODEL J)

WARNING Cancer and Reproductive Harm www.P65Warnings.ca.gov.

  • # Part Retail Our Price
    Stock Status Suggested Quantity
  • 13200-01B30 carburetor assy Includes Item(s) 1 - 27
    This part is currently unavailable.
  • 1
    13696-26C00 o ring, float chamber
    This part is currently unavailable.
  • 2
    Expected to Ship in 4-9 Days
  • 3
    09492-20008 jet, pilot (20) Retail: $11.52 Price: $10.83
    Expected to Ship in 4-9 Days
  • 4
    02112-0412A screw Supersedes: 02112-04123 (SCREW) Price: $1.73
    In Stock
  • 5
    08321-0104A lock washer Supersedes: 08321-01043 (LOCK WASHER) Price: $2.59
    In Stock
  • 6
    13370-26C01 valve assy,need Supersedes: 13370-26C00 (VALVE ASSY, NEEDLE)
    This part is currently unavailable.
  • 7
    13374-35C00 o ring Supersedes: 13374-44080 (O RING) Price: $8.51
    In Stock
  • 8
    13383-01B30 needle, jet (6en11-53-2)
    This part is currently unavailable.
  • 9
    09491-70011 jet, main (350) Retail: $11.97 Price: $11.25
    Expected to Ship in 4-9 Days
  • 10
    13247-26C00 cap, drain
    This part is currently unavailable.
  • 11
    Expected to Ship in 4-9 Days
  • 12
    13252-01B20 float, rh Retail: $44.46 Price: $41.79
    Expected to Ship in 4-9 Days
  • 13
    13252-01B21 float, lh Retail: $36.96 Price: $34.74
    Expected to Ship in 4-9 Days
  • 14
    02112-0308A screw Supersedes: 02112-03087 (SCREW) Price: $2.53
    Expected to Ship in 4-9 Days
  • 15
    08321-2103B lock washer Supersedes: 08321-21033 (LOCK WASHER) Retail: $1.99 Price: $0.77
    In Stock
  • 16
    13279-26C00 adjuster
    This part is currently unavailable.
  • 17
    13681-04011 .cap Supersedes: 13681-04010 (CARBURETOR CAP) Price: $7.00
    In Stock
  • 18
    13607-47070 nut Price: $3.91
    In Stock
  • 19
    13251-26C00 o ring, top cap Retail: $13.07 Price: $12.29
    Expected to Ship in 4-9 Days
  • 20
    13573-26C00 spring, throttle valve
    This part is currently unavailable.
  • 21
    13261-01B30 cap, top
    This part is currently unavailable.
  • 22
    13551-01B30 valve, throttle (ca:6.0)
    This part is currently unavailable.
  • 23
    13411-26C00 plunger
    This part is currently unavailable.
  • 24
    13424-26C00 ring
    This part is currently unavailable.
  • 25
    Expected to Ship in 4-9 Days
  • 26
    In Stock
  • 27
    13692-00B20 clip
    This part is currently unavailable.
  • 28
    09351-30001-600 hose Supersedes: 09351-30503-320 (HOSE, OVER FLOW (3X5X320)) Price: $5.00
    Expected to Ship in 4-9 Days
  • 29
    09351-35653-600 hose (3.5x6.5x600) Supersedes: 09351-35653-440 (HOSE, AIR VENT, RH (L:440)) Price: $6.51
    In Stock
  • 30
    09351-35653-600 hose (3.5x6.5x600) L:440->400 Supersedes: 09351-35653-440 (HOSE, AIR VENT, LH (L:440)) Price: $6.51
    In Stock
  • 31
    09404-06039 clamp Supersedes: 09404-06402 (CLAMP (L:60)) Price: $2.40
    In Stock
  • 32
    09491-62005 jet, main (310) OPT Retail: $12.43 Price: $11.68
    Expected to Ship in 4-9 Days
  • 32
    09491-64002 jet, main (320) OPT Retail: $12.43 Price: $11.68
    Expected to Ship in 4-9 Days
  • 32
    09491-66002 jet, main (330) OPT Retail: $11.97 Price: $11.25
    Expected to Ship in 4-9 Days
  • 32
    09491-68002 jet, main (340) OPT Retail: $11.97 Price: $11.25
    Expected to Ship in 4-9 Days
  • 32
    09491-72011 jet, main (360) OPT Retail: $12.43 Price: $11.68
    Expected to Ship in 4-9 Days
  • 32
    09491-74003 jet, main (370) OPT Retail: $11.97 Price: $11.25
    Expected to Ship in 4-9 Days
  • 32
    09491-76003 jet, main (380) OPT Retail: $12.43 Price: $11.68
    Expected to Ship in 4-9 Days
  • 33
    09492-15007 jet, pilot (15) OPT Retail: $11.97 Price: $11.25
    Expected to Ship in 4-9 Days
  • 33
    09492-17006 jet, pilot (17.5) OPT Retail: $11.74 Price: $11.04
    Expected to Ship in 4-9 Days
  • 33
    09492-25005 jet, pilot (25) OPT Retail: $11.80 Price: $11.09
    Expected to Ship in 4-9 Days
  • 33
    09492-30006 jet, pilot (30) OPT Retail: $11.80 Price: $11.09
    Expected to Ship in 4-9 Days
  • 34
    13383-01B35 needle, jet (6en11-51) OPT
    This part is currently unavailable.
  • 34
    13383-01B40 needle, jet (6en11-52) OPT
    This part is currently unavailable.
  • 34
    13383-01B50 needle, jet (6en11-54) OPT
    This part is currently unavailable.
  • 34
    13383-01B45 needle, jet (6en11-55) OPT
    This part is currently unavailable.
Added to your cart
CLOSE