Kickstart your Riding Season with Bike Prep and Riding Gear Shop Now
CLOSE
Shipping to US Flag United States
Free shipping over $79
Fast Cash Week | Earn $10 When you Spend $99 + $25 When You Spend $199 Shop Now

1987 Suzuki LT-4WD QUADRUNNER OEM Parts

Set this as my ride

View all parts for your 1987 Suzuki LT-4WD QUADRUNNER

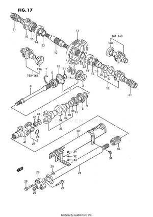
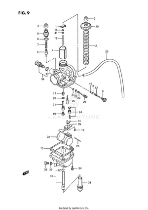
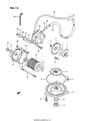
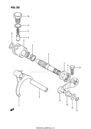
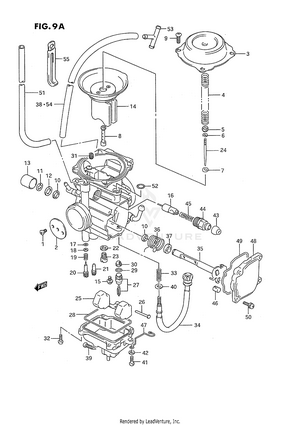
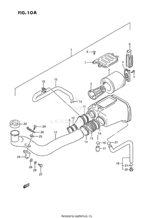
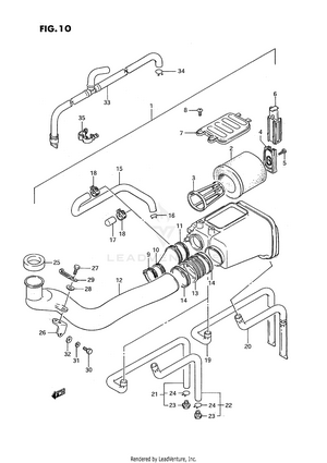
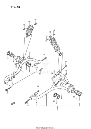
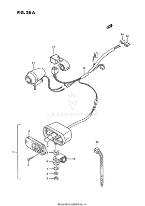
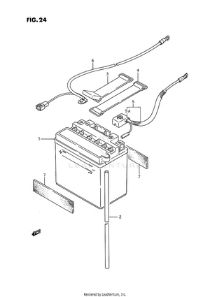
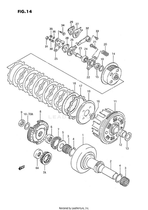
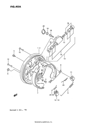
AIR CLEANER (MODEL H/J/K/L) AIR CLEANER (MODEL M/N/P/R/S) BACKUP LAMP (OPTIONAL) BATTERY CAM CHAIN CAM SHAFT - VALVE CARBURETOR (MODEL H/J/K) CARBURETOR (MODEL L/M/N/P/R/S) CARRIER (MODEL H/J) CARRIER (MODEL K/L/M/N/P/R/S) CLUTCH COOLING FAN (MODEL H/J/K/L/M:OPTIONAL) COOLING FAN (MODEL N/P/R/S:OPTIONAL) CRANKCASE CRANKCASE COVER CRANKSHAFT CYLINDER CYLINDER HEAD DIFFERENTIAL GEAR DIFFERENTIAL LOCK ELECTRICAL FOOTREST FRAME (MODEL H/J/K) FRAME (MODEL L/M/N/P/R/S) FRONT BRAKE HOSE FRONT FENDER (MODEL H/J/K/L) FRONT FENDER (MODEL M/N/P/R/S) FRONT MASTER CYLINDER (MODEL H/J/K/L) FRONT MASTER CYLINDER (MODEL M/N/P/R/S) FRONT SUSPENSION ARM FRONT WHEEL (MODEL H/J/K/L) FRONT WHEEL (MODEL M/N) FRONT WHEEL (MODEL P/R/S) FRONT WHEEL BRAKE (MODEL H/J/K/L) FRONT WHEEL BRAKE (MODEL M/N/P/R/S) FUEL TANK GEAR SHIFTING HANDLE SWITCH (MODEL H/J/K/L) HANDLE SWITCH (MODEL M/N/P/R/S) HANDLEBAR - CONTROL CABLE (MODEL H) HANDLEBAR - CONTROL CABLE (MODEL J/K/L/M/N/P/R/S) HEADLAMP KNUCKLE COVER (OPTIONAL) LABEL MAGNETO MUFFLER (MODEL H) MUFFLER (MODEL J/K) MUFFLER (MODEL L) MUFFLER (MODEL M/N/P/R/S) OIL PUMP - FUEL PUMP OPTIONAL REAR BRAKE REAR FENDER (MODEL H/J/K/L) REAR FENDER (MODEL M/N/P/R/S) REAR SUSPENSION ARM (MODEL H) REAR SUSPENSION ARM (MODEL J/K/L/M/N/P/R/S) REAR WHEEL RECOIL STARTER SEAT SECONDARY GEAR - PROPELLER SHAFT (MODEL H/J/K/L/M/N/P) SECONDARY GEAR - PROPELLER SHAFT (MODEL R/S) SPEEDOMETER STARTER CLUTCH STARTING MOTOR (%E.NO.125080) STARTING MOTOR (E.NO.125081%) STEERING SHAFT TAIL LAMP TIE ROD TRANSMISSION (1) TRANSMISSION (2) TRANSMISSION LEVER WIRING HARNESS