Get Out and Ride | Dialed Gear. Tuned Parts. Dirt Ready. Shop Now
CLOSE
Shipping to US Flag United States
Free shipping over $79
BOGOS | Buy One Get One Deals Shop Now

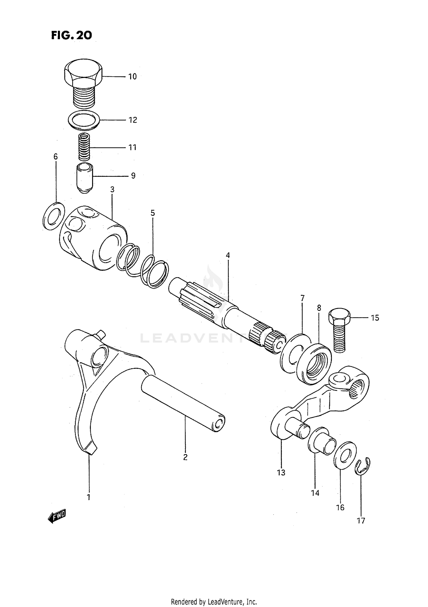
1987 Suzuki LT-4WD QUADRUNNER DIFFERENTIAL LOCK

Set this as my ride
DIFFERENTIAL LOCK

WARNING Cancer and Reproductive Harm www.P65Warnings.ca.gov.

All 1987 Suzuki LT-4WD QUADRUNNER Part Groups
Added to your cart
CLOSE