Kickstart your Riding Season with Bike Prep and Riding Gear Shop Now
CLOSE
Shipping to US Flag United States
Free shipping over $79
Moto Madness Sale | Get Up To 65% Off Parts & Gear Shop Now

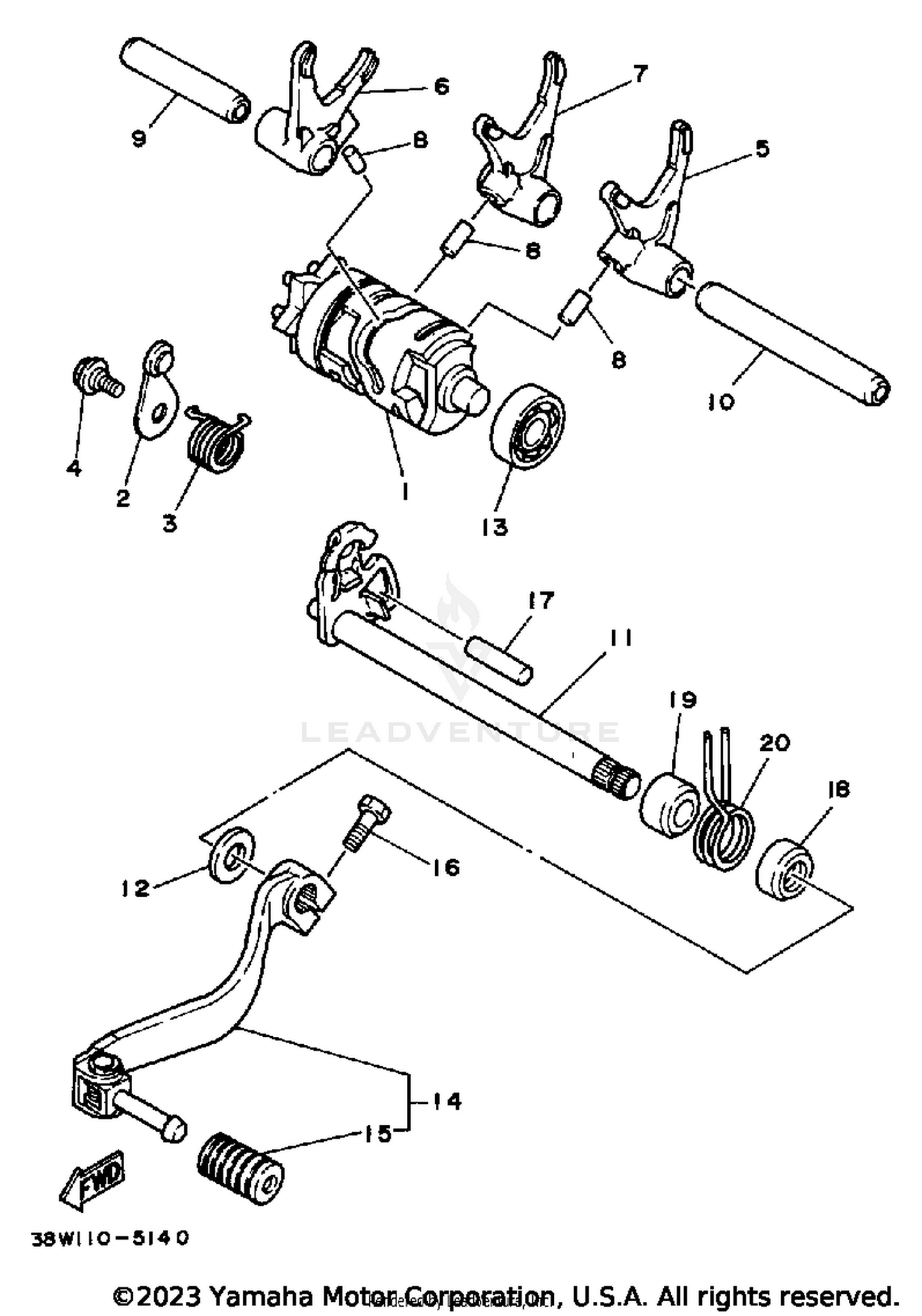
1986 Yamaha TRI-Z - YTZ250S SHIFT CAM-FORK

Set this as my ride
SHIFT CAM-FORK

WARNING Cancer and Reproductive Harm www.P65Warnings.ca.gov.

  • # Part Retail Our Price
    Stock Status Suggested Quantity
  • 1
    25Y-18540-00-00 shift cam assembly
    This part is currently unavailable.
  • 2
    3R4-18140-00-00 stopper lever assembly
    This part is currently unavailable.
  • 3
    90508-26421-00 spring, torsion Supersedes: 90508-26608-00 (SPRING, TORSION)
    This part is currently unavailable.
  • 4
    90109-06190-00 bolt Supersedes: 50W-21631-00-00 (BOLT) Price: $6.89
    In Stock
  • 5
    3R4-18511-01-00 fork, shift 1
    This part is currently unavailable.
  • 6
    3R4-18512-01-00 fork, shift 2
    This part is currently unavailable.
  • 7
    25Y-18513-00-00 fork, shift 3
    This part is currently unavailable.
  • 8
    In Stock
  • 10
    5X5-18535-01-00 bar, shift fork guide 2
    This part is currently unavailable.
  • 11
    38W-18101-02-00 shift shaft assy Supersedes: 23X-18101-01-00 (38W-18101-02-00) Retail: $62.99 Price: $51.02
    In Stock
  • 12
    90201-12657-00 washer, plate
    This part is currently unavailable.
  • 13
    93306-00105-00 bearing Supersedes: 93306-001Y7-00 (BEARING (B6001)) Retail: $33.99 Price: $29.23
    In Stock
  • 14
    38W-18110-00-00 shift pedal assembly
    This part is currently unavailable.
  • 15
    1W6-18113-00-00 cover, shift pedal Supersedes: 2TY-E8113-00-00 (COVER, SHIFT PEDAL) Price: $6.89
    In Stock
  • 16
    97017-06020-00 bolt Supersedes: 97322-06020-00 (BOLT, HEX) Price: $4.67
    In Stock
  • 17
    93608-25150-00 pin, dowel
    This part is currently unavailable.
  • 18
    93102-12321-00 oil seal (sd 12-22-5 hs) Supersedes: 93102-12106-00 (OIL SEAL (SD 12-22-5 HS)) Retail: $13.49 Price: $11.60
    In Stock
  • 19
    90560-12171-00 spacer
    This part is currently unavailable.
  • 20
    90508-29361-00 spring, torsion
    This part is currently unavailable.
  • 4BA-18531-00-00 bar, shift fork guide 1 Supersedes: 5X5-18531-01-00 (BAR, SHIFT FORK GUIDE 1) Retail: $13.49 Price: $11.60
    Expected to Ship in 5-8 Days
Added to your cart
CLOSE