LUCKY YOU! Extra 10% Off Clearance | Use Code POTOGOLD10 Limited Time! Ends 3/21 Shop Now
CLOSE
Shipping to US Flag United States
Free shipping over $79
Moto Madness Sale | Get Up To 65% Off Parts & Gear Shop Now

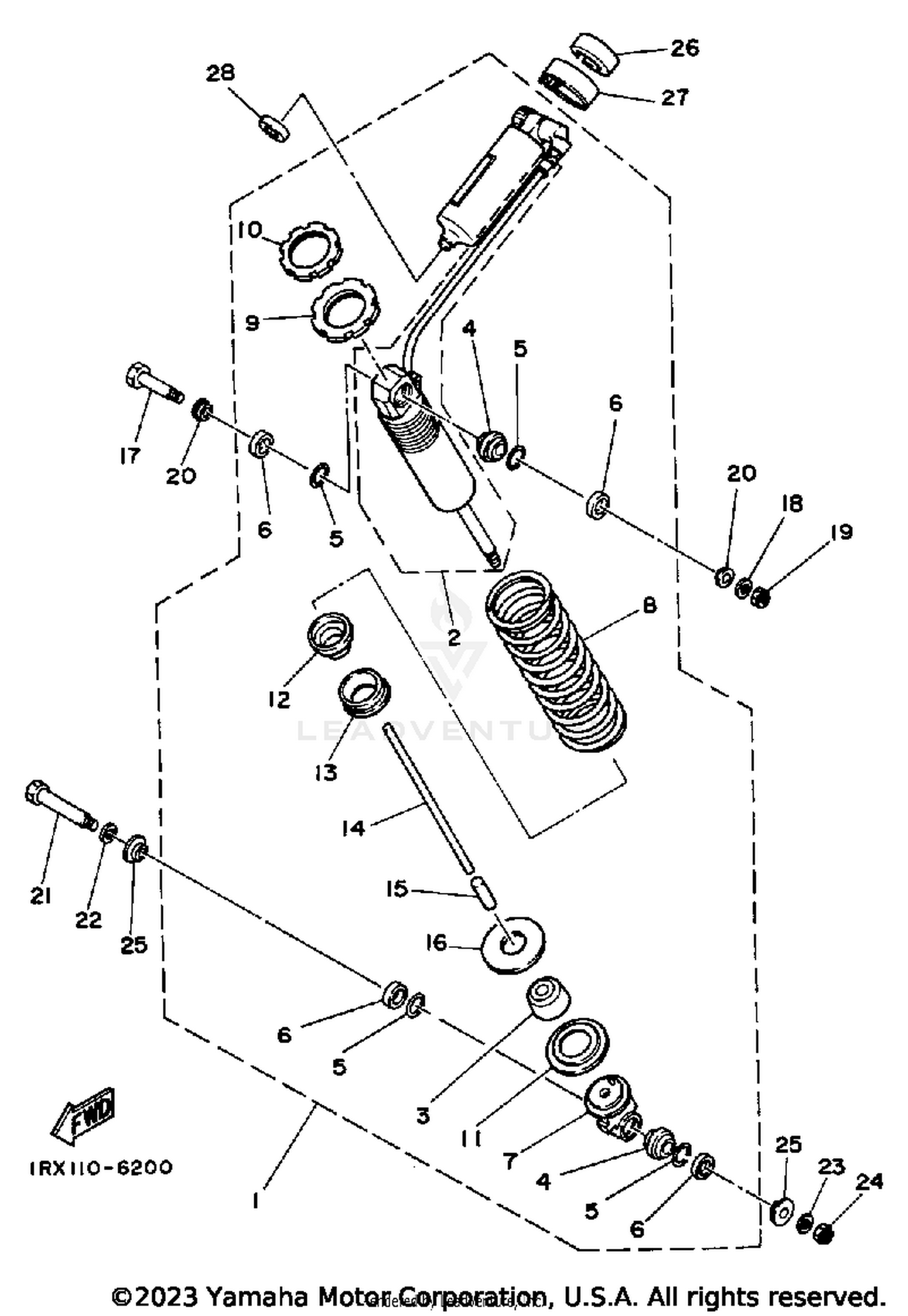
1986 Yamaha TRI-Z - YTZ250S REAR SHOCKS

Set this as my ride
REAR SHOCKS

WARNING Cancer and Reproductive Harm www.P65Warnings.ca.gov.

  • # Part Retail Our Price
    Stock Status Suggested Quantity
  • 1
    1RX-22210-00-6W shk/abs assembly rearassembly, NATIVE RED
    This part is currently unavailable.
  • 2
    1RX-22401-00-00 damper sub assembly
    This part is currently unavailable.
  • 3
    50T-22493-00-00 bump, stop
    This part is currently unavailable.
  • 4
    93399-999T3-00 bearing (93399-99934-00) Supersedes: 93399-99911-00 (BEARING (93399-99934-00)) Retail: $68.99 Price: $55.88
    In Stock
  • 5
    In Stock
  • 6
    93104-18077-00 oil seal Retail: $12.49 Price: $10.74
    In Stock
  • 7
    38W-22209-09-00 bracket, upper assembly
    This part is currently unavailable.
  • 8
    1RX-22212-00-6W spring, shock std STD
    This part is currently unavailable.
  • 8
    1RX-22212-20-6W spring, shock hard AP
    This part is currently unavailable.
  • 8
    1RX-22212-10-6W spring, shock soft AP
    This part is currently unavailable.
  • 9
    38W-22223-00-00 seat, spring lower Retail: $38.99 Price: $33.53
    Expected to Ship in 5-8 Days
  • 10
    1RK-22215-00-00 ring, cover Supersedes: 38W-22215-00-00 (RING, COVER) Retail: $21.99 Price: $18.91
    Expected to Ship in 5-8 Days
  • 11
    3P6-22214-10-00 guide, spring 1 Supersedes: 3P6-22214-00-00 (GUIDE, SPRING 1) Retail: $18.99 Price: $16.33
    In Stock
  • 12
    23X-22475-01-00 seal,dust Supersedes: 23X-22475-00-00 (SEAL, DUST)
    This part is currently unavailable.
  • 13
    38W-22472-01-00 cap, case
    This part is currently unavailable.
  • 14
    38W-22489-00-00 rod, push
    This part is currently unavailable.
  • 15
    93605-20204-00 pin, dowel
    This part is currently unavailable.
  • 16
    38W-22424-00-00 seat 1
    This part is currently unavailable.
  • 17
    90109-10704-00 bolt
    This part is currently unavailable.
  • 18
    90201-100F7-00 washer, plate Supersedes: 90201-10430-00 (WASHER, PLATE) Retail: $10.49 Price: $9.02
    In Stock
  • 19
    90185-10120-00 nut, self-locking Supersedes: 90185-10110-00 (NUT, SELF-LOCKING) Price: $7.46
    In Stock
  • 20
    90387-127G8-00 collar Retail: $12.49 Price: $10.74
    Expected to Ship in 5-8 Days
  • 21
    90109-102A6-00 bolt Retail: $12.49 Price: $10.74
    In Stock
  • 22
    90201-12027-00 washer, plate Supersedes: 90201-120E6-00 (WASHER, PLATE) Price: $10.91
    In Stock
  • 23
    90201-10M05-00 washer, plate Supersedes: 90201-100E9-00 (WASHER, PLATE) Price: $7.46
    In Stock
  • 24
    90185-10120-00 nut, self-locking Supersedes: 90185-10110-00 (NUT, SELF-LOCKING) Price: $7.46
    In Stock
  • 25
    90387-126H8-00 collar Retail: $31.99 Price: $27.51
    In Stock
  • 26
    24X-22261-00-00 damper, sub tank Retail: $10.99 Price: $9.45
    Expected to Ship in 5-8 Days
  • 27
    24X-22262-00-00 holder, sub tank
    This part is currently unavailable.
  • 28
    90480-25381-00 grommet
    This part is currently unavailable.
Added to your cart
CLOSE