Tire Rebates! Get Up To $70 Back Shop Now
CLOSE
Shipping to US Flag United States
Free shipping over $79
Moto Madness Sale | Get Up To 65% Off Parts & Gear Shop Now

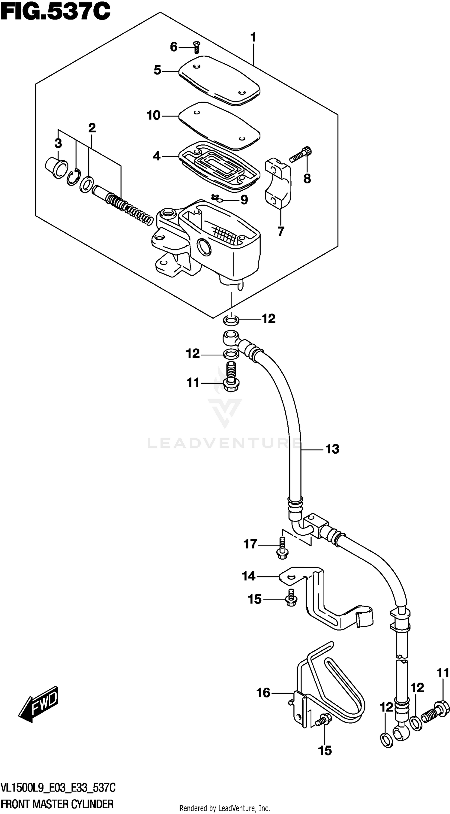
2019 Suzuki VL1500B FRONT MASTER CYLINDER (VL1500TL9 E03)

Set this as my ride
FRONT MASTER CYLINDER (VL1500TL9 E03)

WARNING Cancer and Reproductive Harm www.P65Warnings.ca.gov.

All 2019 Suzuki VL1500B Part Groups
Added to your cart
CLOSE