Renthal Deal! Up To 10% Off Shop Now
CLOSE
Shipping to US Flag United States
Free shipping over $79
My Ride: 2012 Can-Am OUTLANDER MAX 650 XT
Moto Madness Sale | Get Up To 65% Off Parts & Gear Shop Now

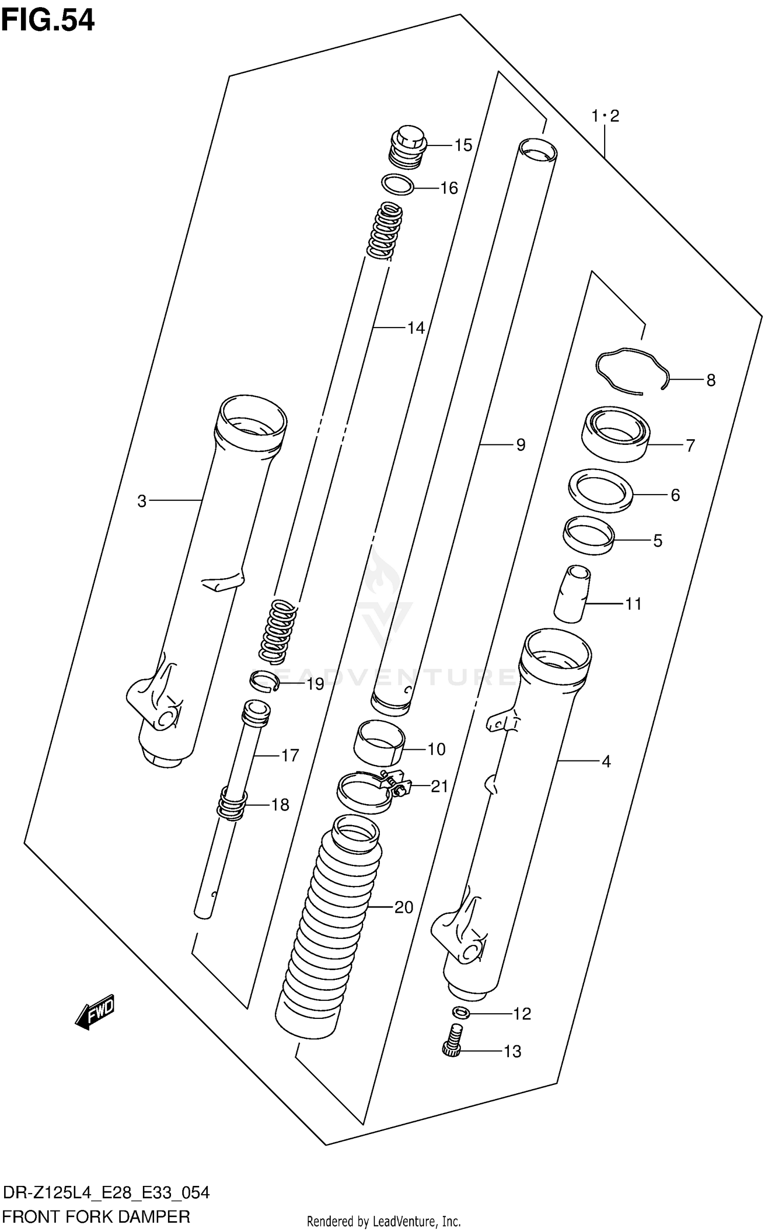
2014 Suzuki DRZ125L FRONT FORK DAMPER (DR-Z125L4 E28)

Set this as my ride
FRONT FORK DAMPER (DR-Z125L4 E28)

WARNING Cancer and Reproductive Harm www.P65Warnings.ca.gov.

All 2014 Suzuki DRZ125L Part Groups
Added to your cart
CLOSE