Get Out and Ride | Dialed Gear. Tuned Parts. Dirt Ready. Shop Now
CLOSE
Shipping to US Flag United States
Free shipping over $79
My Ride: 2004 Yamaha YFM 80 BADGER / RAPTOR 80
BOGOS | Buy One Get One Deals Shop Now

2013 Suzuki KING QUAD 750 OEM Parts

Set this as my ride

View all parts for your 2013 Suzuki KING QUAD 750

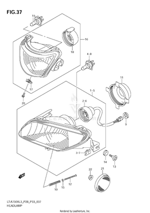
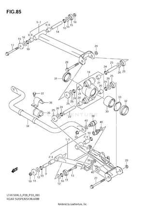
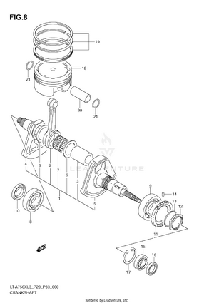
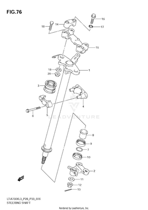
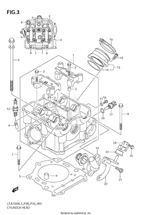
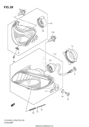
AIR CLEANER BATTERY CAM CHAIN CAM SHAFT/VALVE CARRIER (LT-A750XL3 E28) CARRIER (LT-A750XL3 E33) CARRIER (LT-A750XZL3 E33) COOLING DUCT CRANK BALANCER CRANKCASE CRANKCASE COVER CRANKSHAFT CYLINDER CYLINDER HEAD CYLINDER HEAD COVER ELECTRICAL FINAL BEVEL GEAR (FRONT) FINAL BEVEL GEAR (REAR) FOOTREST FRAME FRONT BOX FRONT BRAKE HOSE FRONT CALIPER FRONT DRIVE SHAFT FRONT FENDER (LT-A750XL3 E28) FRONT FENDER (LT-A750XL3 E33) FRONT FENDER (LT-A750XZL3 E33) FRONT GRILLE (LT-A750XL3 E28) FRONT GRILLE (LT-A750XL3 E33) FRONT GRILLE (LT-A750XZL3 E33) FRONT MASTER CYLINDER FRONT SUSPENSION ARM FRONT WHEEL (LT-A750XL3 E28) FRONT WHEEL (LT-A750XL3 E33) FRONT WHEEL (LT-A750XZL3 E33) FUEL PUMP FUEL TANK GASKET SET GEAR SHIFTING HANDLE COVER (LT-A750XL3 E28) HANDLE COVER (LT-A750XL3 E33) HANDLE COVER (LT-A750XZL3 E33) HANDLE LEVER HANDLEBAR HEADLAMP (LT-A750XL3 E28) HEADLAMP (LT-A750XL3 E33) HEADLAMP (LT-A750XZL3 E33) LABEL (LT-A750XL3 E28) LABEL (LT-A750XL3 E33) LABEL (LT-A750XZL3 E33) LEFT REAR WHEEL (LT-A750XL3 E28) LEFT REAR WHEEL (LT-A750XL3 E33) LEFT REAR WHEEL (LT-A750XZL3 E33) MAGNETO MUDGUARD MUFFLER OIL PUMP OPTIONAL RADIATOR (LT-A750XL3 E28) RADIATOR (LT-A750XL3 E33) RADIATOR (LT-A750XZL3 E33) RADIATOR HOSE REAR BOX REAR BRAKE REAR BRAKE ASSY REAR COMBINATION LAMP (LT-A750XL3 E28) REAR COMBINATION LAMP (LT-A750XL3 E33) REAR COMBINATION LAMP (LT-A750XZL3 E33) REAR DRIVE SHAFT REAR FENDER (LT-A750XL3 E28) REAR FENDER (LT-A750XL3 E33) REAR FENDER (LT-A750XZL3 E33) REAR SHOCK ABSORBER REAR SUSPENSION ARM RECOIL COVER RIGHT REAR WHEEL (LT-A750XL3 E28) RIGHT REAR WHEEL (LT-A750XL3 E33) RIGHT REAR WHEEL (LT-A750XZL3 E33) SEAT SECONDARY DRIVE SHIFT LEVER SPEEDOMETER (LT-A750XL3 E28) SPEEDOMETER (LT-A750XL3 E33) SPEEDOMETER (LT-A750XZL3 E33) STARTER CLUTCH STARTING MOTOR STEERING KNUCKLE STEERING SHAFT THROTTLE BODY TRANSMISSION (1) TRANSMISSION (2) WATER PUMP WIRING HARNESS (LT-A750XL3 E28) WIRING HARNESS (LT-A750XL3 E33) WIRING HARNESS (LT-A750XZL3 E33)