Kickstart your Riding Season with Bike Prep and Riding Gear Shop Now
CLOSE
Shipping to US Flag United States
Free shipping over $79
Moto Madness Sale | Get Up To 65% Off Parts & Gear Shop Now

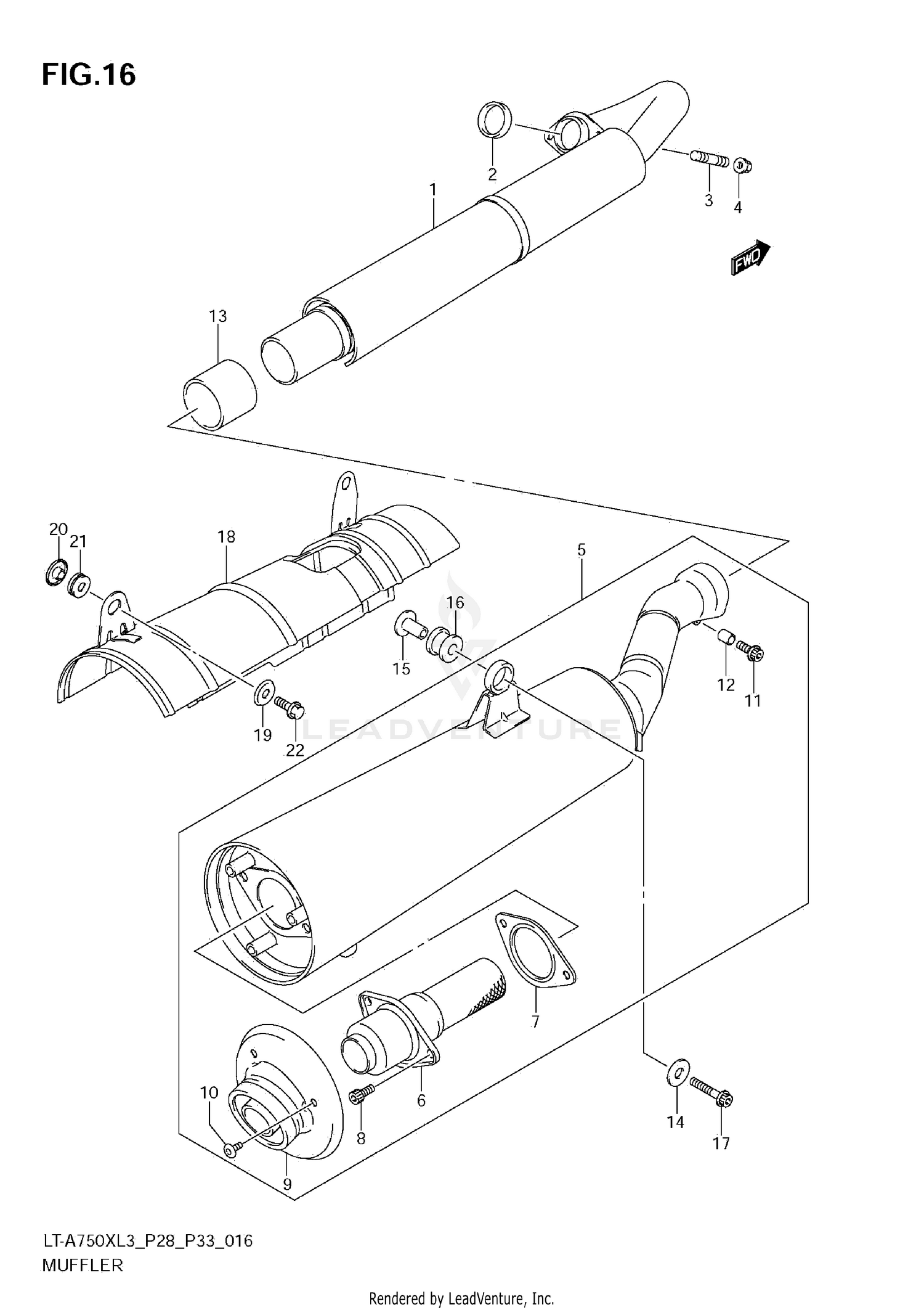
2013 Suzuki KING QUAD 750 MUFFLER

Set this as my ride
MUFFLER

WARNING Cancer and Reproductive Harm www.P65Warnings.ca.gov.

All 2013 Suzuki KING QUAD 750 Part Groups
Added to your cart
CLOSE