Kickstart your Riding Season with Bike Prep and Riding Gear Shop Now
CLOSE
Shipping to US Flag United States
Free shipping over $79
Fast Cash Week | Earn $10 When you Spend $99 + $25 When You Spend $199 Shop Now

2003 Suzuki SV1000 OEM Parts

Set this as my ride

View all parts for your 2003 Suzuki SV1000

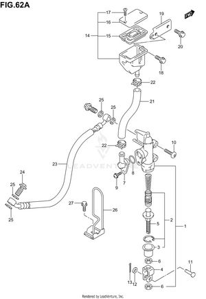
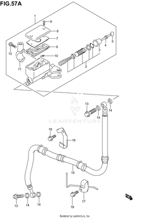
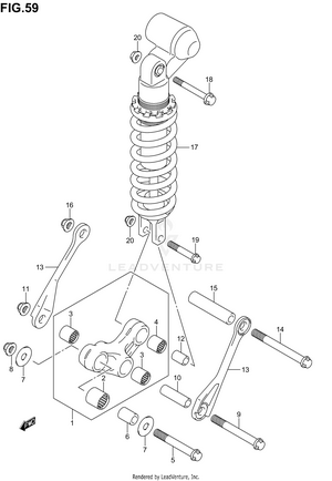
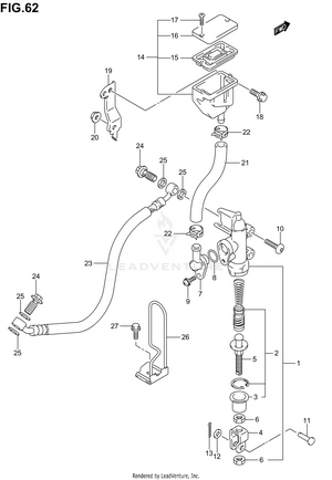
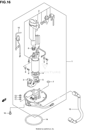
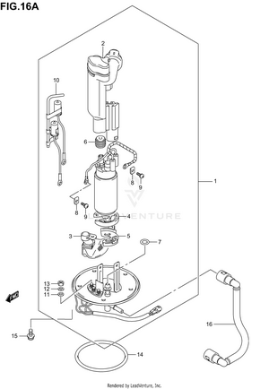
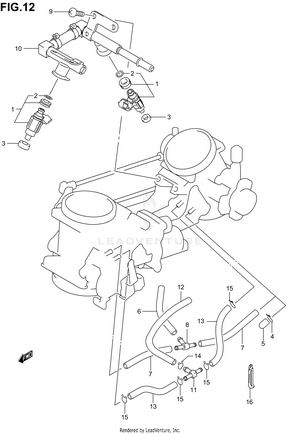
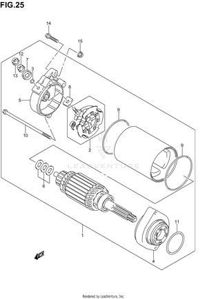
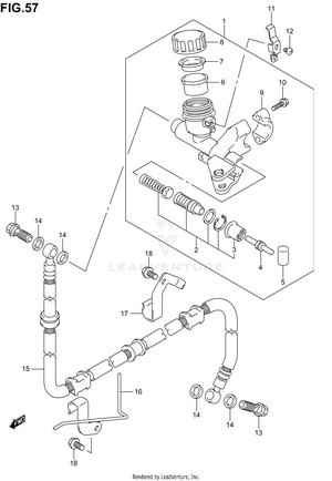
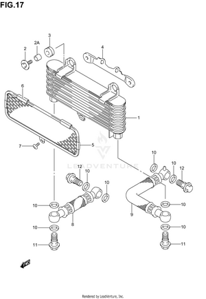
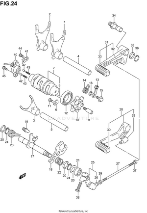
2ND AIR AIR CLEANER BATTERY CAM CHAIN CAMSHAFT/VALVE CLUTCH CLUTCH MASTER CYLINDER (SV1000K3) CLUTCH MASTER CYLINDER (SV1000SK3/SK4/SK5) COWLING BODY (SV1000SK3/SK4) COWLING BODY (SV1000SK5) COWLING INSTALLATION PARTS (SV1000SK3/SK4/SK5) CRANKCASE CRANKCASE COVER CRANKSHAFT CYLINDER ELECTRICAL EVAPO SYSTEM (E33) FOOTREST (SV1000K3/SK4/SK5) FOOTREST (SV1000SK3) FRAME FRAME COVER FRONT BRAKE HOSE FRONT CALIPER FRONT CYLINDER HEAD FRONT DAMPER (MODEL K3/K4) FRONT DAMPER (MODEL K5) FRONT FENDER FRONT MASTER CYLINDER (SV1000K3) FRONT MASTER CYLINDER (SV1000SK3/SK4/SK5) FRONT WHEEL FUEL DELIVERY PIPE FUEL PUMP (MODEL K3/K4) FUEL PUMP (MODEL K5) FUEL TANK (MODEL K4) FUEL TANK (MODEL K5) FUEL TANK (SV1000K3) FUEL TANK (SV1000SK3) GASKET SET GEAR SHIFTING (SV1000K3) GEAR SHIFTING (SV1000SK3/SK4/SK5) HANDLE LEVER (SV1000K3) HANDLE LEVER (SV1000SK3/SK4/SK5) HANDLE SWITCH (SV1000K3) HANDLE SWITCH (SV1000SK3/SK4/SK5) HANDLEBAR (SV1000K3) HANDLEBAR (SV1000SK3/SK4/SK5) HEADLAMP (SV1000K3) HEADLAMP (SV1000SK3/SK4/SK5) HEADLAMP HOUSING (SV1000K3) HEADLAMP HOUSING (SV1000K5) NOT FOR U.S. MARKET LABEL (SV1000K3) LABEL (SV1000SK3/SK4/SK5) MAGNETO MUFFLER OIL COOLER OIL PUMP OPTIONAL RADIATOR RADIATOR HOSE REAR CALIPER REAR CUSHION LEVER REAR CYLINDER HEAD REAR FENDER (SV1000K3/SK4/SK5) REAR FENDER (SV1000SK3) REAR MASTER CYLINDER (SV1000K3/SK4) REAR MASTER CYLINDER (SV1000SK3) REAR MASTER CYLINDER (SV1000SK5) REAR SWINGING ARM (MODEL K3/K4) REAR SWINGING ARM (MODEL K5) REAR WHEEL SEAT (SV1000K3/SK4/SK5) SEAT (SV1000SK3) SEAT TAIL COVER (SV1000K3) SEAT TAIL COVER (SV1000K4) NOT FOR U.S. MARKET SEAT TAIL COVER (SV1000K5) NOT FOR U.S. MARKET SEAT TAIL COVER (SV1000SK3) SEAT TAIL COVER (SV1000SK4) SEAT TAIL COVER (SV1000SK5) SPEEDOMETER (SV1000K3) SPEEDOMETER (SV1000K5) NOT FOR U.S. MARKET SPEEDOMETER (SV1000SK3/SK4) SPEEDOMETER (SV1000SK5) STAND STARTER CLUTCH STARTING MOTOR STEERING DAMPER STEERING STEM (SV1000K3) STEERING STEM (SV1000SK3/SK4/SK5) TAIL LAMP (SV1000K3) TAIL LAMP (SV1000SK3/SK4) TAIL LAMP (SV1000SK5) THROTTLE BODY TRANSMISSION TURNSIGNAL LAMP (SV1000K3) TURNSIGNAL LAMP (SV1000SK3/SK4/SK5) WATER PUMP WIRING HARNESS (SV1000K3) WIRING HARNESS (SV1000SK3/SK4/SK5)