Get Out and Ride | Dialed Gear. Tuned Parts. Dirt Ready. Shop Now
CLOSE
Shipping to US Flag United States
Free shipping over $79
BOGOS | Buy One Get One Deals Shop Now

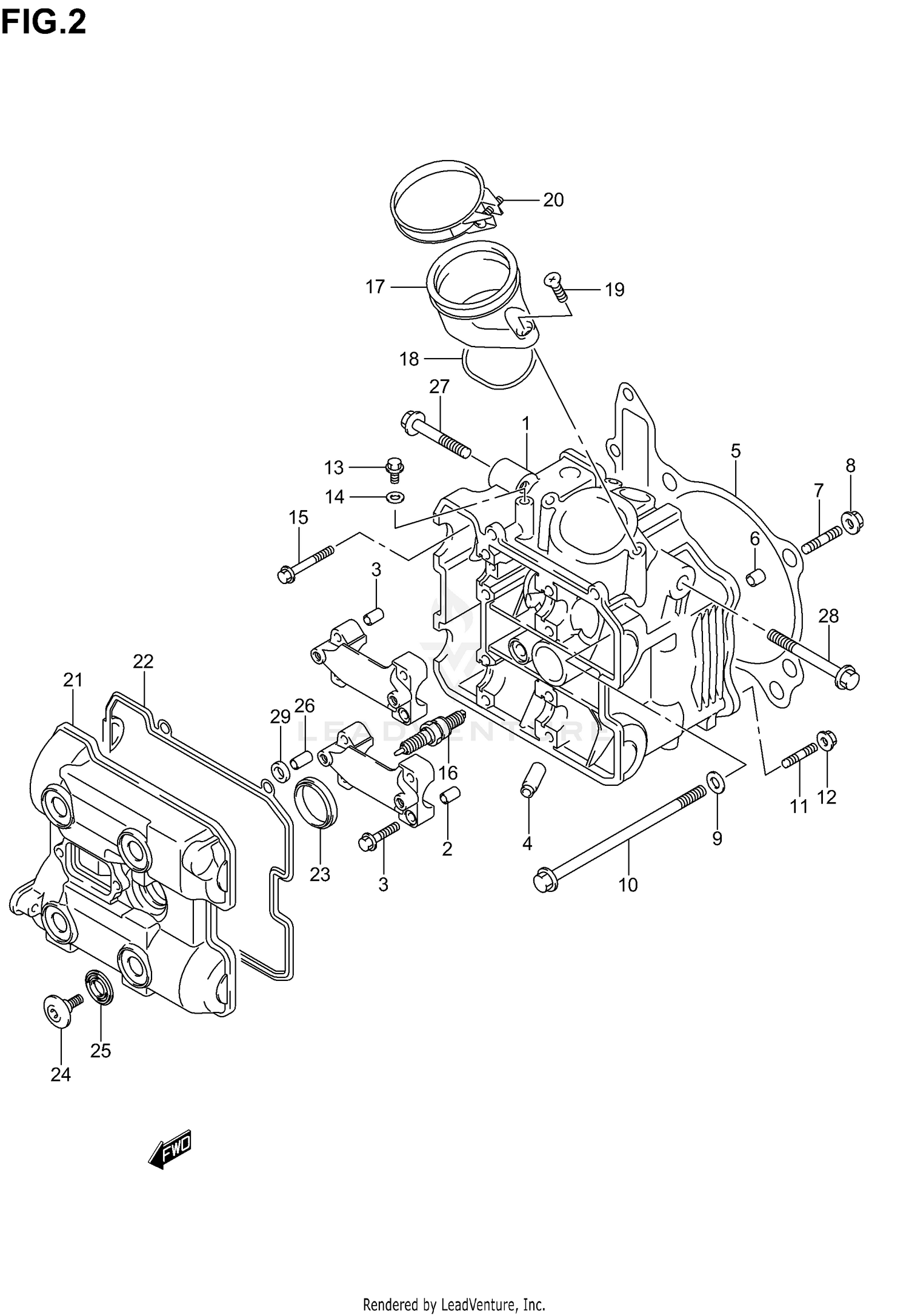
2003 Suzuki SV1000 FRONT CYLINDER HEAD

Set this as my ride
FRONT CYLINDER HEAD

WARNING Cancer and Reproductive Harm www.P65Warnings.ca.gov.

All 2003 Suzuki SV1000 Part Groups
Added to your cart
CLOSE