Kickstart your Riding Season with Bike Prep and Riding Gear Shop Now
CLOSE
Shipping to US Flag United States
Free shipping over $79
My Ride: 2008 Can-Am OUTLANDER MAX 800
Moto Madness Sale | Get Up To 65% Off Parts & Gear Shop Now

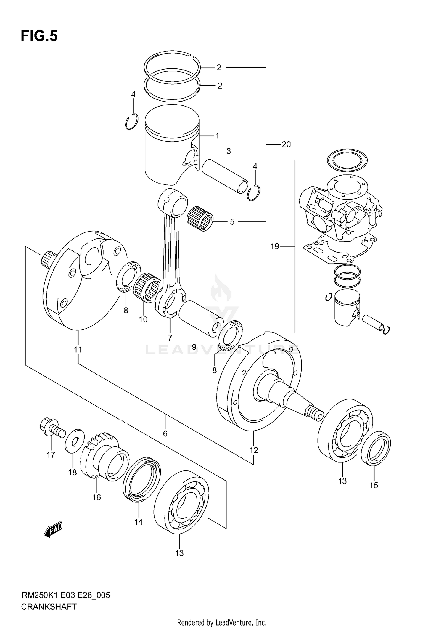
2003 Suzuki RM250 CRANKSHAFT (MODEL K1/K2)

Set this as my ride
CRANKSHAFT (MODEL K1/K2)

WARNING Cancer and Reproductive Harm www.P65Warnings.ca.gov.

  • # Part Retail Our Price
    Stock Status Suggested Quantity
  • 1
    12110-37E42-0F0 piston MODEL K1 Supersedes: 12110-37E40-0F0 (PISTON) Retail: $138.07 Price: $117.36
    Expected to Ship in 4-9 Days
  • 1
    12110-37E42-0F0 piston MODEL K2 Supersedes: 12110-37E40-0F0 (PISTON) Retail: $138.07 Price: $117.36
    Expected to Ship in 4-9 Days
  • 2
    12141-37E02 ring, piston Supersedes: 12141-37E01 (RING, PISTON)
    This part is currently unavailable.
  • 3
    12151-37F00 pin, piston MODEL K1 Supersedes: 12151-28C00 (PIN, PISTON) Retail: $15.29 Price: $14.37
    Expected to Ship in 4-9 Days
  • 3
    12151-37F00 pin, piston MODEL K2 Supersedes: 12151-28C00 (PIN, PISTON) Retail: $15.29 Price: $14.37
    Expected to Ship in 4-9 Days
  • 4
    In Stock
  • 5
    09263-18016 bearing (18x23x22) Retail: $24.62 Price: $23.14
    In Stock
  • 6
    12200-37E31 crankshaft assy MODEL K1 Supersedes: 12200-37E30 (CRANKSHAFT ASSY)
    This part is currently unavailable.
  • 6
    12200-37F00 crankshaft assy MODEL K2; Includes Item(s) 7 - 12
    This part is currently unavailable.
  • 7
    12161-37E00 rod, connecting Retail: $165.18 Price: $140.40
    Expected to Ship in 4-9 Days
  • 8
    09160-24027 washer Retail: $24.30 Price: $22.84
    Expected to Ship in 4-9 Days
  • 9
    12211-05D00 pin, crank Retail: $46.81 Price: $44.00
    Expected to Ship in 4-9 Days
  • 10
    09263-24026 bearing (24x30x20) Retail: $86.34 Price: $80.30
    Expected to Ship in 4-9 Days
  • 11
    12220-37E31 crankshaft, rh MODEL K1 Supersedes: 12220-37E30 (CRANKSHAFT, RH)
    This part is currently unavailable.
  • 11
    12220-37F00 crankshaft, rh MODEL K2
    This part is currently unavailable.
  • 12
    12260-37E31 crankshaft, lh MODEL K1 Supersedes: 12260-37E30 (CRANKSHAFT, LH)
    This part is currently unavailable.
  • 12
    12260-37F00 crankshaft, lh MODEL K2 Retail: $323.16 Price: $271.45
    Expected to Ship in 4-9 Days
  • 13
    09262-28027 bearing (28x68x18) Retail: $88.44 Price: $82.25
    In Stock
  • 14
    09283-38021 oil seal, rh (38x52x8) Retail: $24.37 Price: $22.91
    In Stock
  • 15
    09283-25099 oil seal, lh (25x37x6) Retail: $15.79 Price: $14.84
    In Stock
  • 16
    21111-37F00 gear, primary drive (nt:21) Supersedes: 21111-37E02 (GEAR, PRIMARY DRIVE (NT:21))
    This part is currently unavailable.
  • 17
    09103-10339 bolt, primary drive gear MODEL K1 Supersedes: 21141-27C11 (BOLT) Retail: $11.52 Price: $10.83
    Expected to Ship in 4-9 Days
  • 17
    09103-10339 bolt, primary drive gear MODEL K2 Supersedes: 21141-27C11 (BOLT) Retail: $11.52 Price: $10.83
    Expected to Ship in 4-9 Days
  • 18
    In Stock
  • 19
    12102-37812 top end kit, engine OPT E3; Includes Item(s) 19 - 19
    This part is currently unavailable.
  • 19
    11147-37F00 o ring, cylinder head no.1 NOT SHOWN Retail: $17.38 Price: $16.34
    In Stock
  • 19
    In Stock
  • 19
    11241-37F01 gasket, cylinder NOT SHOWN Supersedes: 11241-37F00 (GASKET, CYLINDER)
    This part is currently unavailable.
  • 19
    12110-37E42-0F0 piston NOT SHOWN Supersedes: 12110-37E40-0F0 (PISTON) Retail: $138.07 Price: $117.36
    Expected to Ship in 4-9 Days
  • 19
    12141-37E02 ring, piston NOT SHOWN Supersedes: 12141-37E01 (RING, PISTON)
    This part is currently unavailable.
  • 19
    09381-18002 circlip NOT SHOWN Price: $2.01
    In Stock
  • 20
    12101-37893 piston kit OPT MODEL K1 E28 Supersedes: 12101-37890 (PISTON KIT)
    This part is currently unavailable.
  • 20
    12101-37893 piston kit OPT MODEL K2 E28; Includes Item(s) 20 - 20 Supersedes: 12101-37890 (PISTON KIT)
    This part is currently unavailable.
  • 20
    12110-37E42-0F0 piston NOT SHOWN Supersedes: 12110-37E40-0F0 (PISTON) Retail: $138.07 Price: $117.36
    Expected to Ship in 4-9 Days
  • 20
    12141-37E02 ring, piston NOT SHOWN Supersedes: 12141-37E01 (RING, PISTON)
    This part is currently unavailable.
  • 20
    12151-37F00 pin, piston MODEL K1 NOT SHOWN Supersedes: 12151-28C00 (PIN, PISTON) Retail: $15.29 Price: $14.37
    Expected to Ship in 4-9 Days
  • 20
    12151-37F00 pin, piston MODEL K2 NOT SHOWN Supersedes: 12151-28C00 (PIN, PISTON) Retail: $15.29 Price: $14.37
    Expected to Ship in 4-9 Days
  • 20
    09263-18016 bearing NOT SHOWN Retail: $24.62 Price: $23.14
    In Stock
  • 20
    09381-18002 circlip NOT SHOWN Price: $2.01
    In Stock
All 2003 Suzuki RM250 Part Groups
Added to your cart
CLOSE