Kickstart your Riding Season with Bike Prep and Riding Gear Shop Now
CLOSE
Shipping to US Flag United States
Free shipping over $79
My Ride: 2012 Can-Am OUTLANDER MAX 500 XT
Moto Madness Sale | Get Up To 65% Off Parts & Gear Shop Now

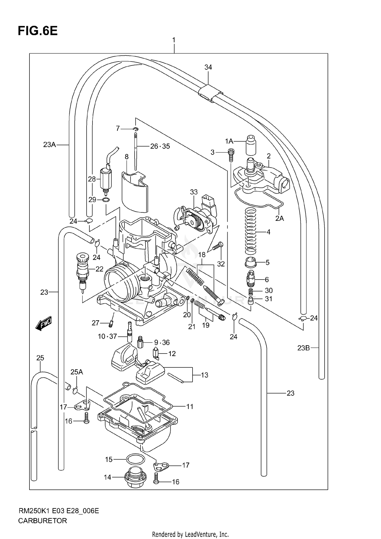
2003 Suzuki RM250 CARBURETOR (MODEL K6)

Set this as my ride
CARBURETOR (MODEL K6)

WARNING Cancer and Reproductive Harm www.P65Warnings.ca.gov.

All 2003 Suzuki RM250 Part Groups
Added to your cart
CLOSE