Tire Rebates! Get Up To $70 Back Shop Now
CLOSE
Shipping to US Flag United States
Free shipping over $79
My Ride: 2012 Can-Am OUTLANDER MAX 400 XT
Moto Madness Sale | Get Up To 65% Off Parts & Gear Shop Now

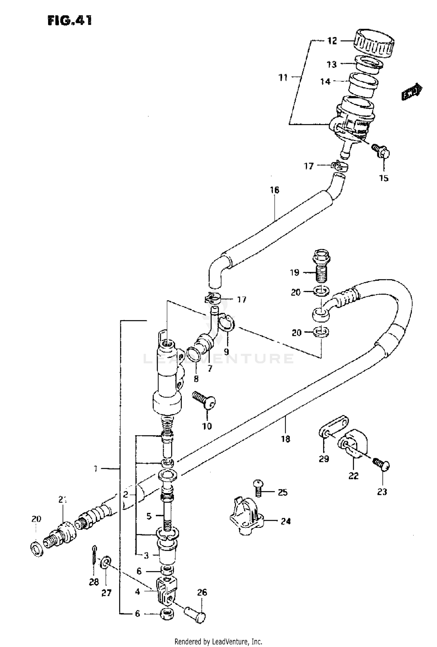
1995 Suzuki RMX250 REAR MASTER CYLINDER (MODEL K)

Set this as my ride
REAR MASTER CYLINDER (MODEL K)

WARNING Cancer and Reproductive Harm www.P65Warnings.ca.gov.

All 1995 Suzuki RMX250 Part Groups
Added to your cart
CLOSE