Kickstart your Riding Season with Bike Prep and Riding Gear Shop Now
CLOSE
Shipping to US Flag United States
Free shipping over $79
My Ride: 2012 Can-Am OUTLANDER MAX 400 XT
Moto Madness Sale | Get Up To 65% Off Parts & Gear Shop Now

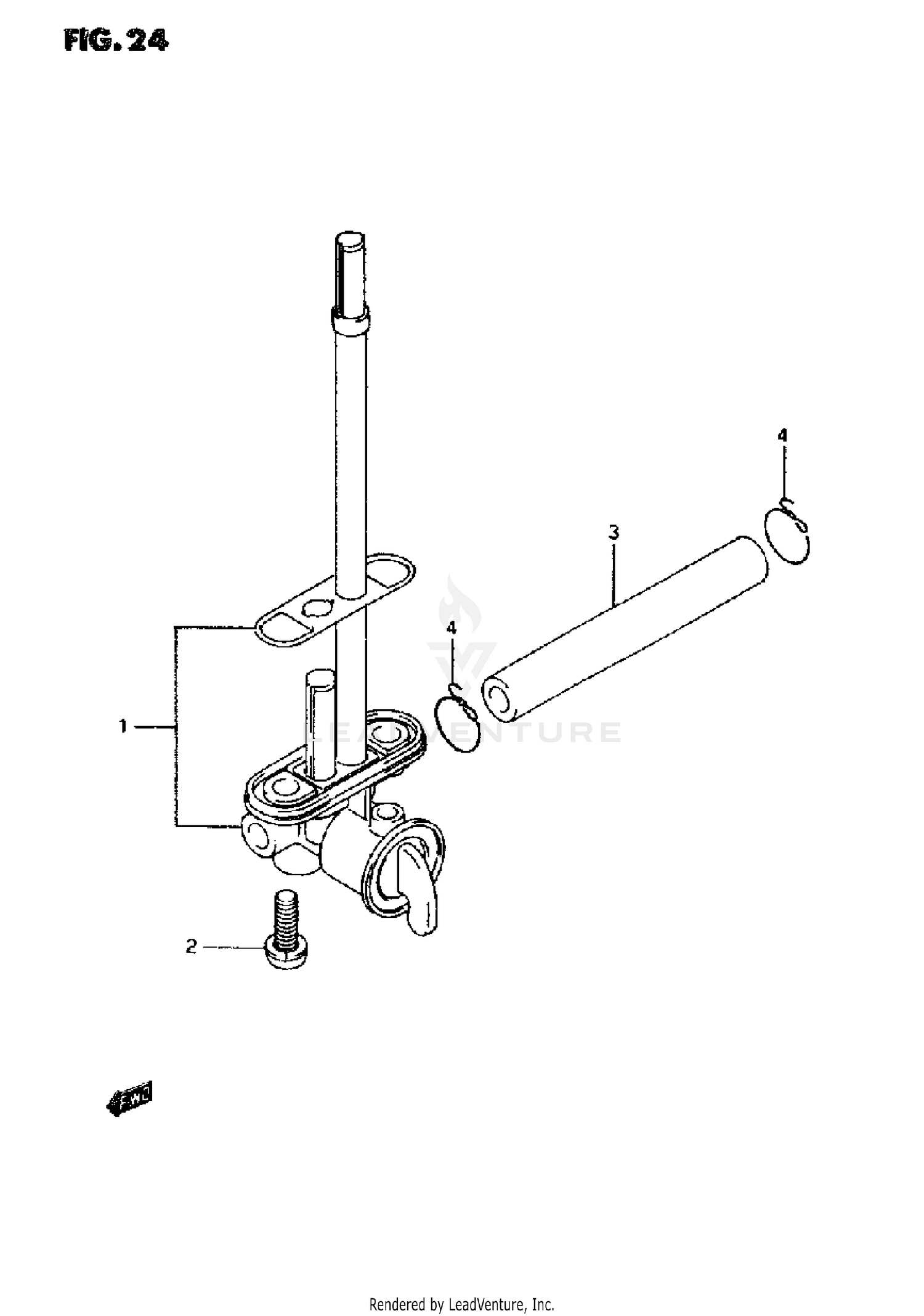
1995 Suzuki RMX250 FUEL COCK

Set this as my ride
FUEL COCK

WARNING Cancer and Reproductive Harm www.P65Warnings.ca.gov.

  • # Part Retail Our Price
    Stock Status Suggested Quantity
  • 1
    44300-05D00 com assy, fuel
    This part is currently unavailable.
  • 2
    02112-36167 screw Supersedes: 02112-36168 (SCREW) Price: $3.28
    Expected to Ship in 4-9 Days
  • 3
    09355-65001-600 hose(6.5x11.5x6 MODEL K/L/M/N Supersedes: 09354-65113-600 (HOSE, FUEL (L:60G-80)) Retail: $14.61 Price: $13.73
    In Stock
  • 3
    44421-05D02 hose,fuel MODEL P/R Supersedes: 44421-05D01 (HOSE,FUEL)
    This part is currently unavailable.
  • 3
    44421-05D02 hose,fuel MODEL S Supersedes: 44421-05D01 (HOSE,FUEL)
    This part is currently unavailable.
  • 4
    09401-11101 clip Price: $3.16
    In Stock
All 1995 Suzuki RMX250 Part Groups
Added to your cart
CLOSE