Tire Rebates! Get Up To $70 Back Shop Now
CLOSE
Shipping to US Flag United States
Free shipping over $79
Moto Madness Sale | Get Up To 65% Off Parts & Gear Shop Now

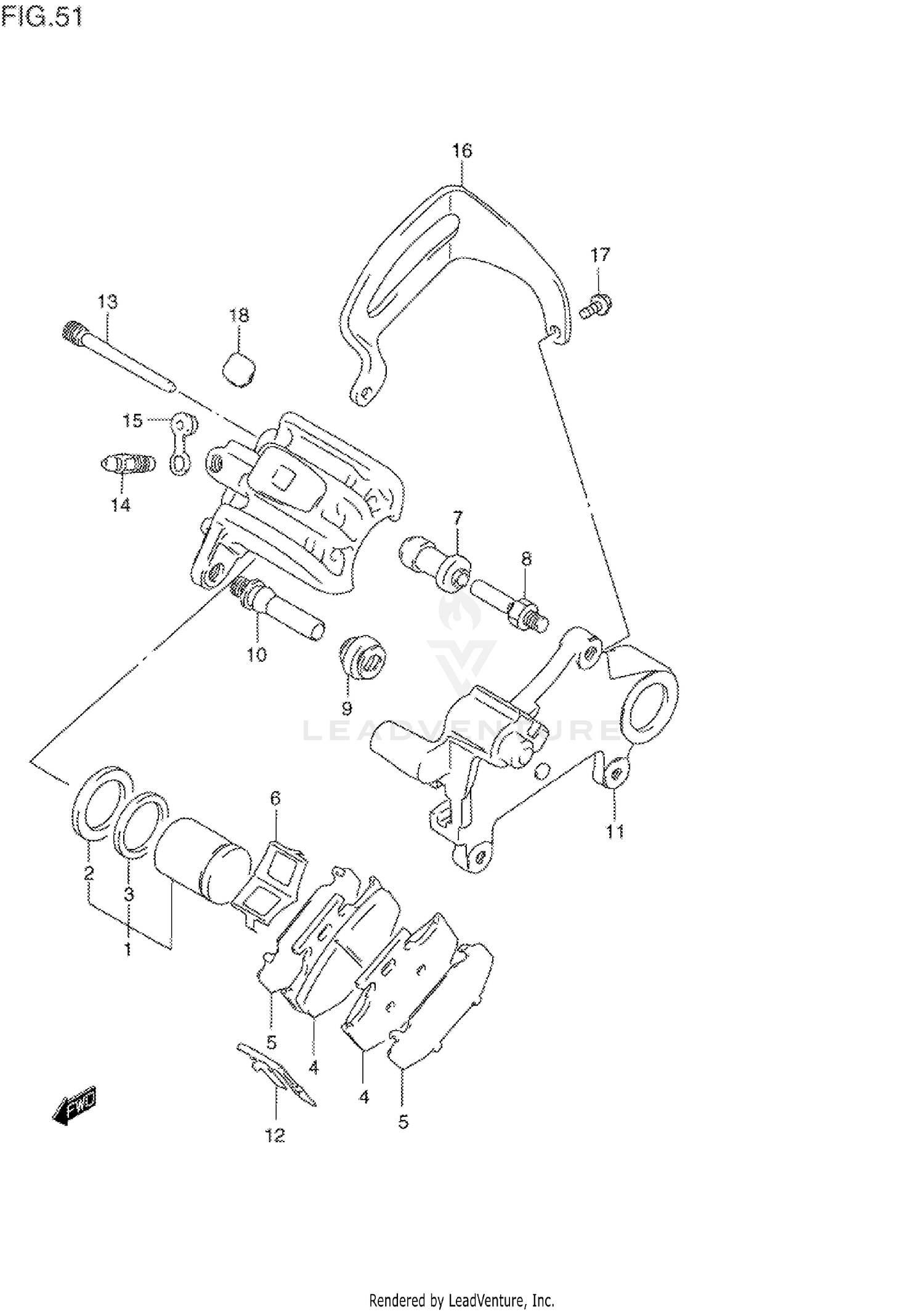
1994 Suzuki DR350S REAR CALIPER (MODEL L/M)

Set this as my ride
REAR CALIPER (MODEL L/M)

WARNING Cancer and Reproductive Harm www.P65Warnings.ca.gov.

  • # Part Retail Our Price
    Stock Status Suggested Quantity
  • 69100-15D00 caliper assy, rear Includes Item(s) 1 - 15 Retail: $256.94 Price: $220.63
    Expected to Ship in 4-9 Days
  • 1
    69100-03810 piston set Retail: $48.35 Price: $45.45
    Expected to Ship in 4-9 Days
  • 2
    69100-13810 seal set, piston Supersedes: 59107-17C00 (SEAL) Retail: $12.21 Price: $11.48
    Expected to Ship in 4-9 Days
  • 3
    59108-17C00 seal, dust
    This part is currently unavailable.
  • 4
    69100-15810 pad set ->69100-15810 Supersedes: 69140-15D00 (PAD) Retail: $69.64 Price: $64.77
    Expected to Ship in 4-9 Days
  • 5
    69132-28C00 shim Retail: $10.23 Price: $9.62
    Expected to Ship in 4-9 Days
  • 6
    59315-27C10 spring Retail: $12.63 Price: $6.77
    In Stock
  • 7
    59386-13A00 boot Supersedes: 59386-0AE00 (BOOT) Price: $11.29
    In Stock
  • 8
    59382-14500 pin
    This part is currently unavailable.
  • 9
    59303-14500 boot Supersedes: 59303-0AE00 (BOOT) Price: $7.85
    Expected to Ship in 4-9 Days
  • 10
    59305-27C00 pin Retail: $25.38 Price: $23.86
    Expected to Ship in 4-9 Days
  • 11
    69351-27C00 bracket Retail: $122.69 Price: $104.29
    Expected to Ship in 4-9 Days
  • 12
    Expected to Ship in 4-9 Days
  • 13
    59345-14600 pin Retail: $17.56 Price: $16.51
    Expected to Ship in 4-9 Days
  • 14
    59121-01A00 bleeder Supersedes: 59121-0AE00 (BLEEDER) Retail: $10.78 Price: $10.13
    In Stock
  • 15
    59122-01A00 cap Price: $6.16
    In Stock
  • 16
    69725-27C20 guard, caliper
    This part is currently unavailable.
  • 17
    01547-06107 bolt Price: $2.32
    Expected to Ship in 4-9 Days
  • 18
    Expected to Ship in 4-9 Days
  • 19
    SPECIAL NOTE refer to fig.51a(i- 6) for
    This part is currently unavailable.
All 1994 Suzuki DR350S Part Groups
Added to your cart
CLOSE