Kickstart your Riding Season with Bike Prep and Riding Gear Shop Now
CLOSE
Shipping to US Flag United States
Free shipping over $79
My Ride: 2007 Can-Am OUTLANDER MAX 800
Moto Madness Sale | Get Up To 65% Off Parts & Gear Shop Now

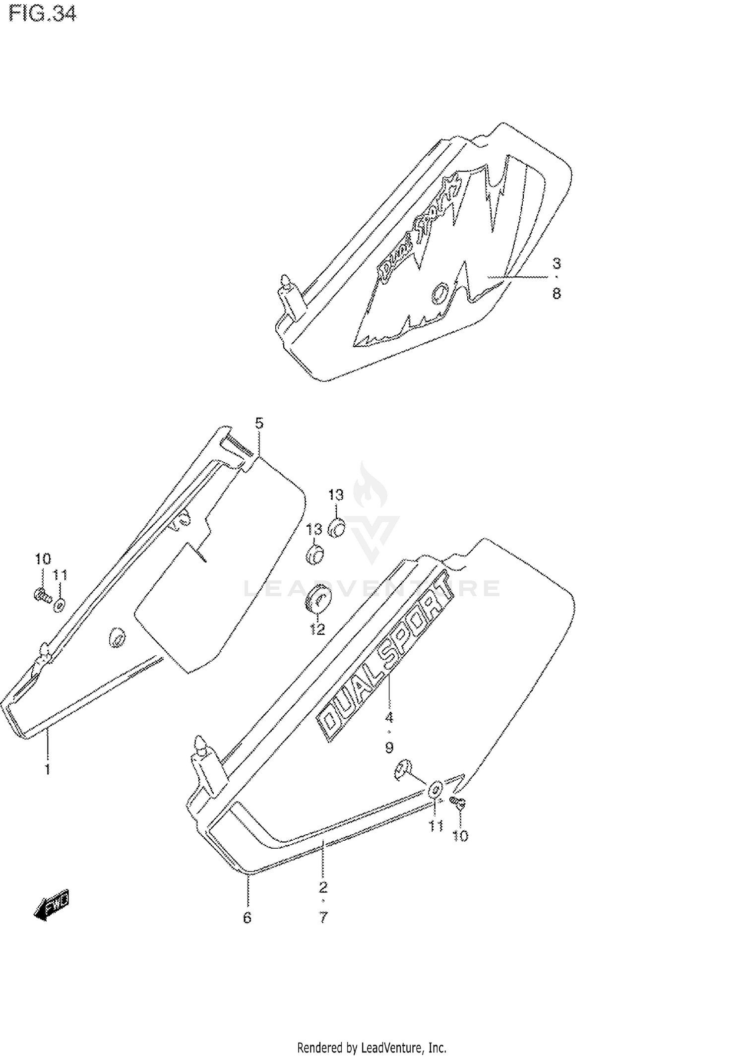
1994 Suzuki DR350S FRAME COVER (MODEL L/M)

Set this as my ride
FRAME COVER (MODEL L/M)

WARNING Cancer and Reproductive Harm www.P65Warnings.ca.gov.

  • # Part Retail Our Price
    Stock Status Suggested Quantity
  • 1
    47111-14D00-30H cover, frame rh (white)
    This part is currently unavailable.
  • 2
    68135-14D01-B26 tape, frame cover rh MODEL L
    This part is currently unavailable.
  • 3
    68135-14D21-0WE no description available MODEL M Supersedes: 68135-14D20-0WE (TAPE, FRAME COVER RH) Retail: $58.84 Price: $54.72
    Expected to Ship in 4-9 Days
  • 4
    68131-14D00-8YM emblem MODEL L
    This part is currently unavailable.
  • 5
    47166-14D00 shield, frame cover rh
    This part is currently unavailable.
  • 6
    47211-15D00-30H cover, frame lh (white)
    This part is currently unavailable.
  • 7
    68145-14D10-B26 tape, frame cover lh MODEL L
    This part is currently unavailable.
  • 8
    68145-14D31-0WE no description available MODEL M Supersedes: 68145-14D30-0WE (TAPE, FRAME COVER LH)
    This part is currently unavailable.
  • 9
    68131-14D00-8YM emblem MODEL L
    This part is currently unavailable.
  • 10
    09139-06050 screw, side Supersedes: 09139-06059 (SCREW) Price: $5.74
    In Stock
  • 11
    09169-06041 washer Supersedes: 09169-06031 (WASHER) Price: $2.65
    In Stock
  • 12
    Expected to Ship in 4-9 Days
  • 13
    In Stock
  • 14
    SPECIAL NOTE refer to fig.34a(f-14) for
    This part is currently unavailable.
All 1994 Suzuki DR350S Part Groups
Added to your cart
CLOSE