Kickstart your Riding Season with Bike Prep and Riding Gear Shop Now
CLOSE
Shipping to US Flag United States
Free shipping over $79
Bargain Bin Blowout! | Save 40-90% Off! Shop Now

1987 Suzuki LT250R QUADRACER OEM Parts

Set this as my ride

View all parts for your 1987 Suzuki LT250R QUADRACER

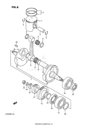
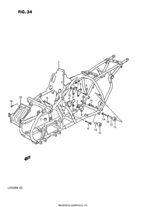
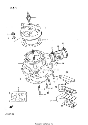
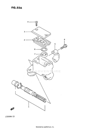
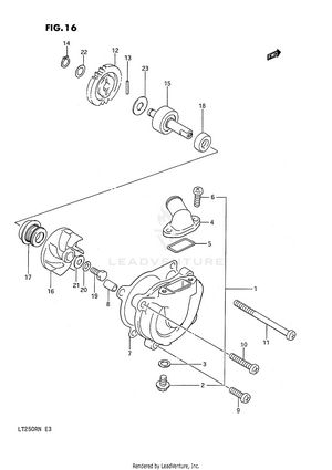
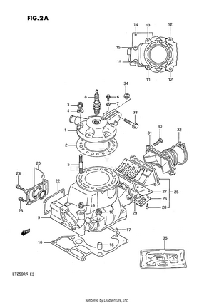
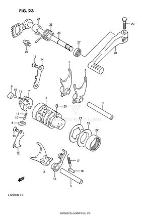
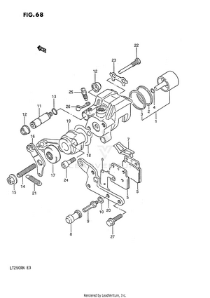
AIR CLEANER (MODEL F/G/H/J/K/L) AIR CLEANER (MODEL M/N) BRAKE LEVER (MODEL F/G) BRAKE LEVER (MODEL H/J/K/L) BRAKE LEVER (MODEL M/N) CARBURETOR CLUTCH (MODEL F/G) CLUTCH (MODEL H/J/K/L/M/N) CRANK BALANCER (MODEL F/G) CRANK BALANCER (MODEL H/J/K/L/M/N) CRANKCASE (MODEL F/G) CRANKCASE (MODEL H/J/K/L/M/N) CRANKCASE COVER (MODEL F/G) CRANKCASE COVER (MODEL H/J/K/L/M/N) CRANKSHAFT (MODEL F/G) CRANKSHAFT (MODEL H) CRANKSHAFT (MODEL J/K/L/M/N) CUSHION LEVER (MODEL F/G) CUSHION LEVER (MODEL H/J/K/L) CUSHION LEVER (MODEL M/N) CYLINDER (MODEL F/G) CYLINDER (MODEL H) CYLINDER (MODEL J/K/L/M/N) ELECTRICAL EXHAUST VALVE (MODEL H/J/K/L/M/N) FOOTREST (MODEL F/G) FOOTREST (MODEL H/J/K/L) FOOTREST (MODEL M/N) FRAME (MODEL F/G) FRAME (MODEL H/J/K/L/M/N) FRONT BRAKE HOSE FRONT CALIPERS FRONT FENDER (MODEL F/G) FRONT FENDER (MODEL H/J) FRONT FENDER (MODEL K/L) FRONT FENDER (MODEL M/N) FRONT MASTER CYLINDER (MODEL F/G/H/J/K/L) FRONT MASTER CYLINDER (MODEL M/N) FRONT WHEEL FUEL TANK GEAR SHIFTING (MODEL F/G) GEAR SHIFTING (MODEL H/J/K/L/M/N) HANDLEBAR - CONTROL CABLE HEADLAMP HEADLAMP HOUSING KICK STARTER (MODEL F/G) KICK STARTER (MODEL H/J/K/L/M/N) LABEL LEFT HANDLE SWITCH MAGNETO (MODEL F/G) MAGNETO (MODEL H/J/K/L/M/N) MUFFLER (MODEL F/G) MUFFLER (MODEL H/J/K/L/M/N) OPTIONAL RADIATOR REAR BRAKE REAR CALIPER (MODEL F/G) REAR CALIPER (MODEL H/J/K/L/M/N) REAR FENDER (MODEL F/G) REAR FENDER (MODEL H/J/K/L) REAR FENDER (MODEL M/N) REAR MASTER CYLINDER (MODEL F) REAR MASTER CYLINDER (MODEL G) REAR MASTER CYLINDER (MODEL H/J/K/L) REAR MASTER CYLINDER (MODEL M/N) REAR SHOCK ABSORBER (MODEL F/G) REAR SHOCK ABSORBER (MODEL H/J/K/L) REAR SHOCK ABSORBER (MODEL M/N) REAR SWINGING ARM (MODEL F) REAR SWINGING ARM (MODEL G) REAR SWINGING ARM (MODEL H/J/K/L) REAR SWINGING ARM (MODEL M/N) REAR WHEEL (MODEL F/G) REAR WHEEL (MODEL H/J/K/L/M/N) SEAT STEERING SHAFT SUSPENSION ARM (MODEL F/G) SUSPENSION ARM (MODEL H/J/K/L/M/N) TAIL LAMP TIE ROD (MODEL F/G) TIE ROD (MODEL H/J/K/L/M/N) TRANSMISSION (MODEL F/G) TRANSMISSION (MODEL H/J/K/L/M/N) WATER PUMP (MODEL F/G) WATER PUMP (MODEL H/J/K/L/M/N) WIRING HARNESS