Kickstart your Riding Season with Bike Prep and Riding Gear Shop Now
CLOSE
Shipping to US Flag United States
Free shipping over $79
Moto Madness Sale | Get Up To 65% Off Parts & Gear Shop Now

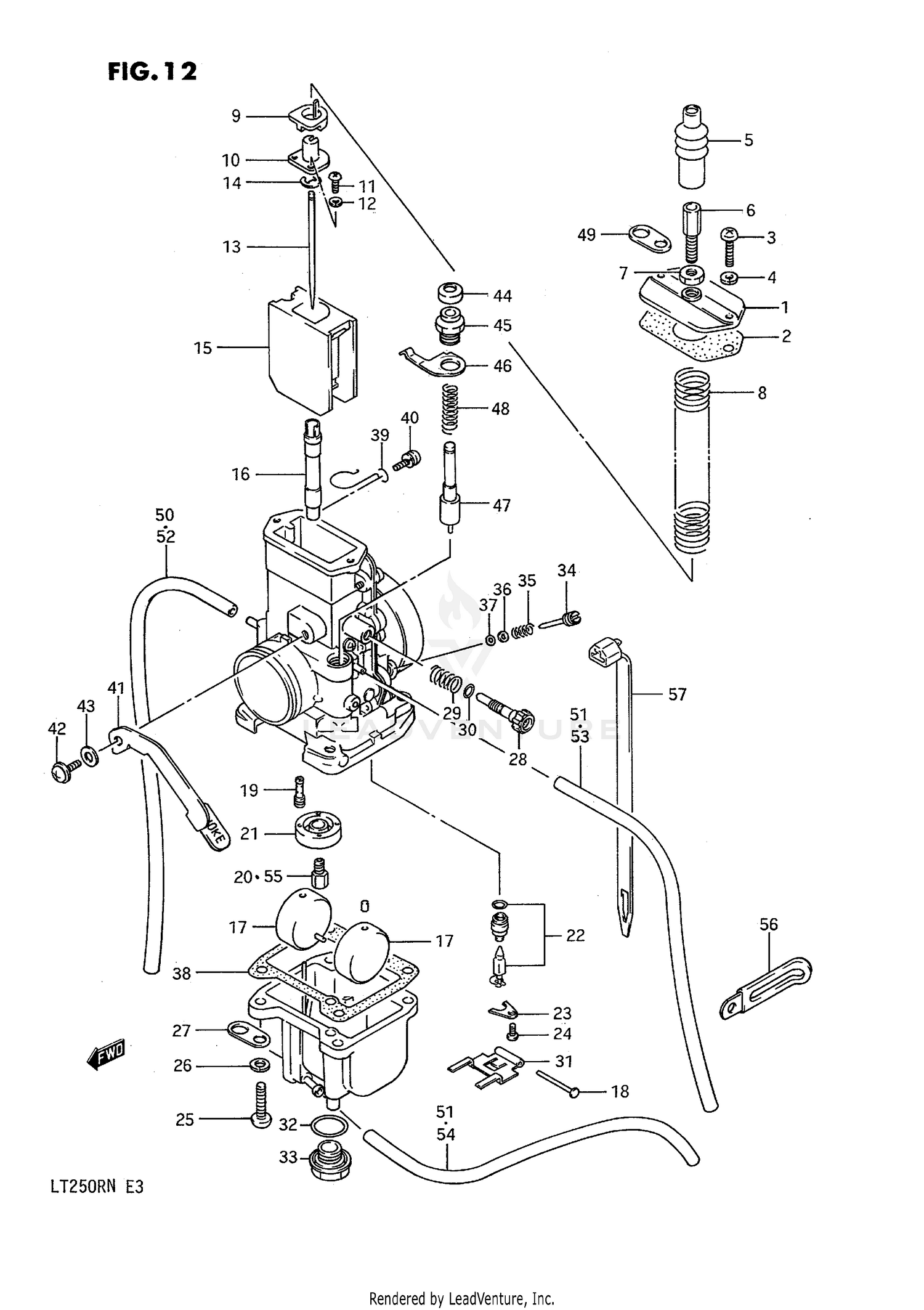
1987 Suzuki LT250R QUADRACER CARBURETOR

Set this as my ride
CARBURETOR

WARNING Cancer and Reproductive Harm www.P65Warnings.ca.gov.

  • # Part Retail Our Price
    Stock Status Suggested Quantity
  • 13200-19A00 carburetor assy MODEL F
    This part is currently unavailable.
  • 13200-19A10 carburetor assy MODEL G
    This part is currently unavailable.
  • 13200-01C31 carburetor assy MODEL H Supersedes: 13200-01C01 (CARBURETOR ASSY)
    This part is currently unavailable.
  • 13200-01C31 carburetor assy MODEL J Supersedes: 13200-01C11 (CARBURETOR ASSY)
    This part is currently unavailable.
  • 13200-01C31 carburetor assy MODEL K/L Supersedes: 13200-01C20 (CARBURETOR ASSY)
    This part is currently unavailable.
  • 13200-01C31 carburetor assy MODEL M Supersedes: 13200-01C30 (CARBURETOR ASSY)
    This part is currently unavailable.
  • 13200-01C31 carburetor assy MODEL N; Includes Item(s) 1 - 54
    This part is currently unavailable.
  • 1
    13261-14500 cap, top
    This part is currently unavailable.
  • 2
    13266-14500 gasket
    This part is currently unavailable.
  • 3
    02112-0412A screw Supersedes: 02112-04123 (SCREW) Price: $1.73
    In Stock
  • 4
    08321-0104A lock washer Supersedes: 08321-01043 (LOCK WASHER) Price: $2.59
    In Stock
  • 5
    13681-41510 cap, rubber Retail: $12.63 Price: $11.87
    Expected to Ship in 4-9 Days
  • 6
    Expected to Ship in 4-9 Days
  • 7
    13661-16600 nut
    This part is currently unavailable.
  • 8
    13573-14500 spring MODEL F/G
    This part is currently unavailable.
  • 8
    13573-01C00 spring MODEL H/J/K/L/M/N
    This part is currently unavailable.
  • 9
    13629-16700 ring
    This part is currently unavailable.
  • 10
    13398-16700 joint
    This part is currently unavailable.
  • 11
    02112-0310B screw Supersedes: 02112-03106 (SCREW) Price: $3.30
    Expected to Ship in 4-9 Days
  • 12
    08321-2103B lock washer Supersedes: 08321-21033 (LOCK WASHER) Retail: $1.99 Price: $0.77
    In Stock
  • 13
    13383-14510 needle, jet (6fp55-3) MODEL F/G
    This part is currently unavailable.
  • 13
    13383-01C00 needle, jet (6fp60-3) MODEL H
    This part is currently unavailable.
  • 13
    13383-01C10 needle, jet (6fp63-3) MODEL J/K/L/M/N
    This part is currently unavailable.
  • 14
    13394-10010 e ring MODEL F/G/H Retail: $6.79 Price: $1.77
    In Stock
  • 14
    13394-31210 e ring MODEL J/K/L/M/N Price: $6.79
    Expected to Ship in 4-9 Days
  • 15
    13551-13A50 no description available MODEL F Supersedes: 13551-19A00 (VALVE, PISTON (CA:3.0))
    This part is currently unavailable.
  • 15
    13551-01C00 valve, piston (ca:4.0) MODEL G Supersedes: 13551-19A10 (VALVE, PISTON (CA:4.0)) Retail: $164.47 Price: $139.80
    Expected to Ship in 4-9 Days
  • 15
    13551-01C00 valve, piston (ca:4.0) MODEL H/J/K/L/M/N Retail: $164.47 Price: $139.80
    Expected to Ship in 4-9 Days
  • 16
    09494-00491 jet, needle (q-1) MODEL F
    This part is currently unavailable.
  • 16
    09494-00526 jet, needle (q-3) MODEL G
    This part is currently unavailable.
  • 16
    09494-00393 jet, needle (q-8) MODEL H/M
    This part is currently unavailable.
  • 16
    09494-00357 jet, needle (r-0) MODEL J/K/L
    This part is currently unavailable.
  • 16
    09494-00729 jet, needle (q-7) MODEL N
    This part is currently unavailable.
  • 17
    13252-18620 float Retail: $27.73 Price: $26.07
    Expected to Ship in 4-9 Days
  • 18
    Expected to Ship in 4-9 Days
  • 19
    09492-45009 jet, pilot (45) MODEL F/G
    This part is currently unavailable.
  • 19
    09492-35006 jet, pilot (37.5) MODEL H
    This part is currently unavailable.
  • 19
    09492-30006 jet, pilot (30) MODEL J/K/L/M/N Retail: $11.80 Price: $11.09
    Expected to Ship in 4-9 Days
  • 20
    09491-40006 jet, main (200) MODEL F
    This part is currently unavailable.
  • 20
    09491-42005 jet, main (210) MODEL G Supersedes: 09491-42001 (JET, MAIN (210))
    This part is currently unavailable.
  • 20
    09491-48003 jet. main (240) MODEL H/J/K/L Supersedes: 09491-48001 (JET, MAIN (240))
    This part is currently unavailable.
  • 20
    09491-54002 jet, main (270) MODEL M
    This part is currently unavailable.
  • 20
    09491-52006 jet, main MODEL N Supersedes: 09491-52001 (JET, MAIN (260)) Retail: $10.91 Price: $10.26
    Expected to Ship in 4-9 Days
  • 21
    13331-19A00 ring MODEL F
    This part is currently unavailable.
  • 21
    13331-19A10 ring MODEL G
    This part is currently unavailable.
  • 21
    13331-01B21 ring MODEL H/J/K/L/M/N
    This part is currently unavailable.
  • 22
    13370-43B01 valve assy,need Supersedes: 13370-14300 (VALVE ASSY, NEEDLE)
    This part is currently unavailable.
  • 23
    13373-39110 plate Price: $9.71
    Expected to Ship in 4-9 Days
  • 24
    02112-0406B screw Supersedes: 02112-04063 (SCREW) Price: $2.16
    In Stock
  • 25
    02112-0516A .screw Supersedes: 02112-05163 (SCREW) Price: $2.01
    In Stock
  • 26
    08321-0105A lock washer Supersedes: 08321-01053 (LOCK WASHER) Price: $2.55
    Expected to Ship in 4-9 Days
  • 27
    13693-13A00 plate MODEL G/H/J
    This part is currently unavailable.
  • 28
    13267-48700 adjuster, throttle stop Retail: $18.76 Price: $17.63
    Expected to Ship in 4-9 Days
  • 29
    Expected to Ship in 4-9 Days
  • 30
    Expected to Ship in 4-9 Days
  • 31
    13253-40010 arm, float
    This part is currently unavailable.
  • 32
    Expected to Ship in 4-9 Days
  • 33
    13247-32210 bolt, drain Retail: $16.47 Price: $15.48
    Expected to Ship in 4-9 Days
  • 34
    13269-48030 screw, air (3/4) MODEL F
    This part is currently unavailable.
  • 34
    13269-48030 screw, air (1 1/4) MODEL G
    This part is currently unavailable.
  • 34
    13269-48030 screw, air (1 1/2) MODEL H
    This part is currently unavailable.
  • 34
    13269-48030 screw, air (2.0) MODEL J/K/L/M
    This part is currently unavailable.
  • 34
    13269-48030 screw, air (1 3/4) MODEL N
    This part is currently unavailable.
  • 35
    In Stock
  • 36
    In Stock
  • 37
    13295-29901 o-ring Supersedes: 13295-29900 (O RING) Price: $6.16
    In Stock
  • 38
    13251-14300 gasket, float chamber
    This part is currently unavailable.
  • 39
    13692-14500 clip
    This part is currently unavailable.
  • 40
    13601-04148 screw Price: $3.91
    In Stock
  • 41
    13414-13A00 lever, choke
    This part is currently unavailable.
  • 42
    13602-05A30 screw Price: $5.43
    Expected to Ship in 4-9 Days
  • 43
    Expected to Ship in 4-9 Days
  • 44
    13682-09210 cap Price: $4.20
    Expected to Ship in 4-9 Days
  • 45
    13418-09110 holder, plunger Retail: $13.47 Price: $12.66
    Expected to Ship in 4-9 Days
  • 46
    13426-13A00 spring
    This part is currently unavailable.
  • 47
    13411-18010 plunger assy
    This part is currently unavailable.
  • 48
    Expected to Ship in 4-9 Days
  • 49
    13693-36500 plate MODEL K/L/M/N Price: $4.04
    Expected to Ship in 4-9 Days
  • 50
    09351-35653-600 hose (3.5x6.5x600) MODEL F/G Supersedes: 13684-19A01 (HOSE (3.5X6.5X300)) Price: $6.51
    In Stock
  • 51
    09351-35653-600 hose (3.5x6.5x600) MODEL F/G Supersedes: 13684-19A01 (HOSE (3.5X6.5X300!225)) Price: $6.51
    In Stock
  • 52
    09351-35653-600 hose (3.5x6.5x600) MODEL H/J Supersedes: 13683-37420 (HOSE (3.5X6.5X500!350)) Price: $6.51
    In Stock
  • 52
    09351-35653-600 hose (3.5x6.5x600) MODEL K/L/M/N Supersedes: 13683-37420 (HOSE (3.5X6.5X500!350)) Price: $6.51
    In Stock
  • 53
    09351-35653-600 hose (3.5x6.5x600) MODEL H/J Supersedes: 13683-37420 (HOSE (3.5X6.5X500!280)) Price: $6.51
    In Stock
  • 54
    09351-35653-600 hose (3.5x6.5x600) MODEL H/J/K/L/M/N Supersedes: 13683-37420 (HOSE (3.5X6.5X500!225)) Price: $6.51
    In Stock
  • 55
    09491-38009 jet, main (190) OPT
    This part is currently unavailable.
  • 55
    09491-38006 jet, main (195) OPT
    This part is currently unavailable.
  • 55
    09491-40006 jet, main (200) OPT
    This part is currently unavailable.
  • 55
    09491-42005 jet, main (210) OPT Supersedes: 09491-42001 (JET, MAIN (210))
    This part is currently unavailable.
  • 55
    09491-44007 jet, main OPT Supersedes: 09491-44001 (JET, MAIN (220)) Retail: $15.51 Price: $14.58
    Expected to Ship in 4-9 Days
  • 55
    09491-46001 jet, main (230) OPT Retail: $12.15 Price: $11.42
    Expected to Ship in 4-9 Days
  • 55
    09491-48003 jet. main (240) OPT Supersedes: 09491-48001 (JET, MAIN (240))
    This part is currently unavailable.
  • 55
    09491-50008 jet, main (250) OPT
    This part is currently unavailable.
  • 55
    09491-52006 jet, main OPT Supersedes: 09491-52001 (JET, MAIN (260)) Retail: $10.91 Price: $10.26
    Expected to Ship in 4-9 Days
  • 55
    09491-54002 jet, main (270) OPT
    This part is currently unavailable.
  • 56
    09404-06039 clamp MODEL F/G Supersedes: 09404-06402 (CLAMP (L:60)) Price: $2.40
    In Stock
  • 57
    09407-25401 clamp, air vent hose MODEL L/M/N Price: $6.53
    Expected to Ship in 4-9 Days
All 1987 Suzuki LT250R QUADRACER Part Groups
Added to your cart
CLOSE