LUCKY YOU! Extra 10% Off Clearance | Use Code POTOGOLD10 Limited Time! Ends 3/21 Shop Now
CLOSE
Shipping to US Flag United States
Free shipping over $79
Moto Madness Sale | Get Up To 65% Off Parts & Gear Shop Now

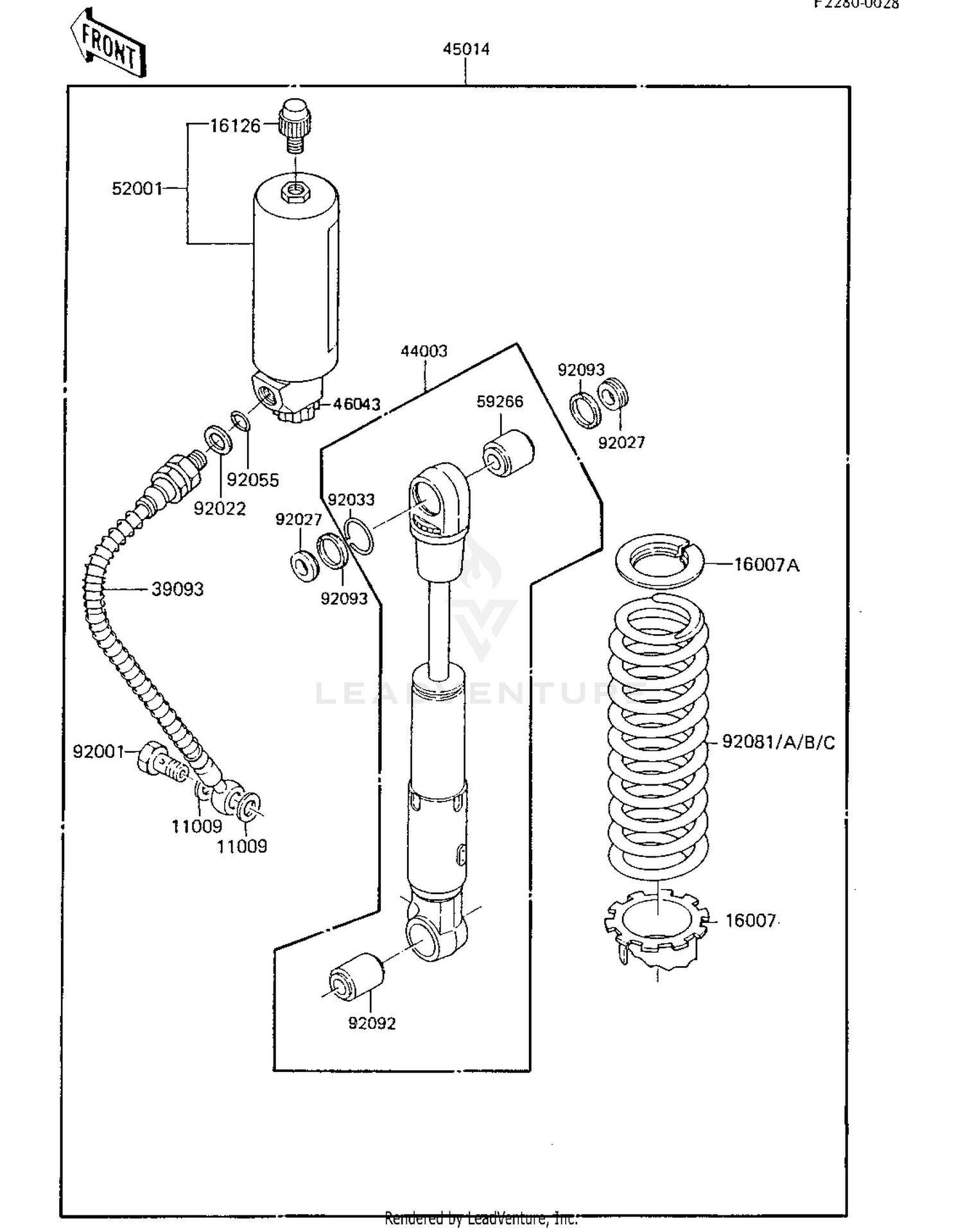
1985 Kawasaki KX80 SHOCK ABSORBER ('85 KX80-E3)

Set this as my ride
SHOCK ABSORBER ('85 KX80-E3)

WARNING Cancer and Reproductive Harm www.P65Warnings.ca.gov.

  • # Part Retail Our Price
    Stock Status Suggested Quantity
  • 11009
    44045-057 gasket,fork cylinder Supersedes: 11009-1325 (GASKET) Price: $5.59
    In Stock
  • 16007
    16007-1057 seat-spring,rear shoc
    This part is currently unavailable.
  • 16007A
    16007-1121 seat-spring,rear shoc Retail: $11.93 Price: $10.98
    Expected to Ship in 4-9 Days
  • 16126
    16126-1118 valve,air
    This part is currently unavailable.
  • 39093
    39093-1104 pipe-comp-susp,shocka
    This part is currently unavailable.
  • 44003
    44003-1562 damper-assy,rear shoc
    This part is currently unavailable.
  • 45014
    45014-1294 shockabsorber
    This part is currently unavailable.
  • 46043
    46043-1052 knob-assy,oil tank
    This part is currently unavailable.
  • 52001
    52001-1057 tank-oil,rear shock
    This part is currently unavailable.
  • 59266
    59266-1053 joint-ball,rear shock
    This part is currently unavailable.
  • 92001
    92001-1752 bolt,pipe-comp-susp
    This part is currently unavailable.
  • 92022
    92022-1297 washer,rear shock
    This part is currently unavailable.
  • 92027
    92027-1862 collar,rear shock
    This part is currently unavailable.
  • 92033
    Expected to Ship in 4-9 Days
  • 92055
    92055-1099 0 ring
    This part is currently unavailable.
  • 92081
    92081-1534 spring,shockabsorber,
    This part is currently unavailable.
  • 92081A
    92081-1535 spring,shockabsorber, (OPTION)
    This part is currently unavailable.
  • 92081B
    92081-1815 spring,shockabsorber,
    This part is currently unavailable.
  • 92081C
    92081-1832 spring (OPTION)
    This part is currently unavailable.
  • 92092
    92092-1016 bushing-rubber,shocka Retail: $29.14 Price: See price in cart
    Expected to Ship in 4-9 Days
  • 92093
    92093-1183 seal,rear shock Retail: $16.50 Price: $15.18
    Expected to Ship in 4-9 Days
All 1985 Kawasaki KX80 Part Groups
Added to your cart
CLOSE