LUCKY YOU! Extra 10% Off Clearance | Use Code POTOGOLD10 Limited Time! Ends 3/21 Shop Now
CLOSE
Shipping to US Flag United States
Free shipping over $79
Moto Madness Sale | Get Up To 65% Off Parts & Gear Shop Now

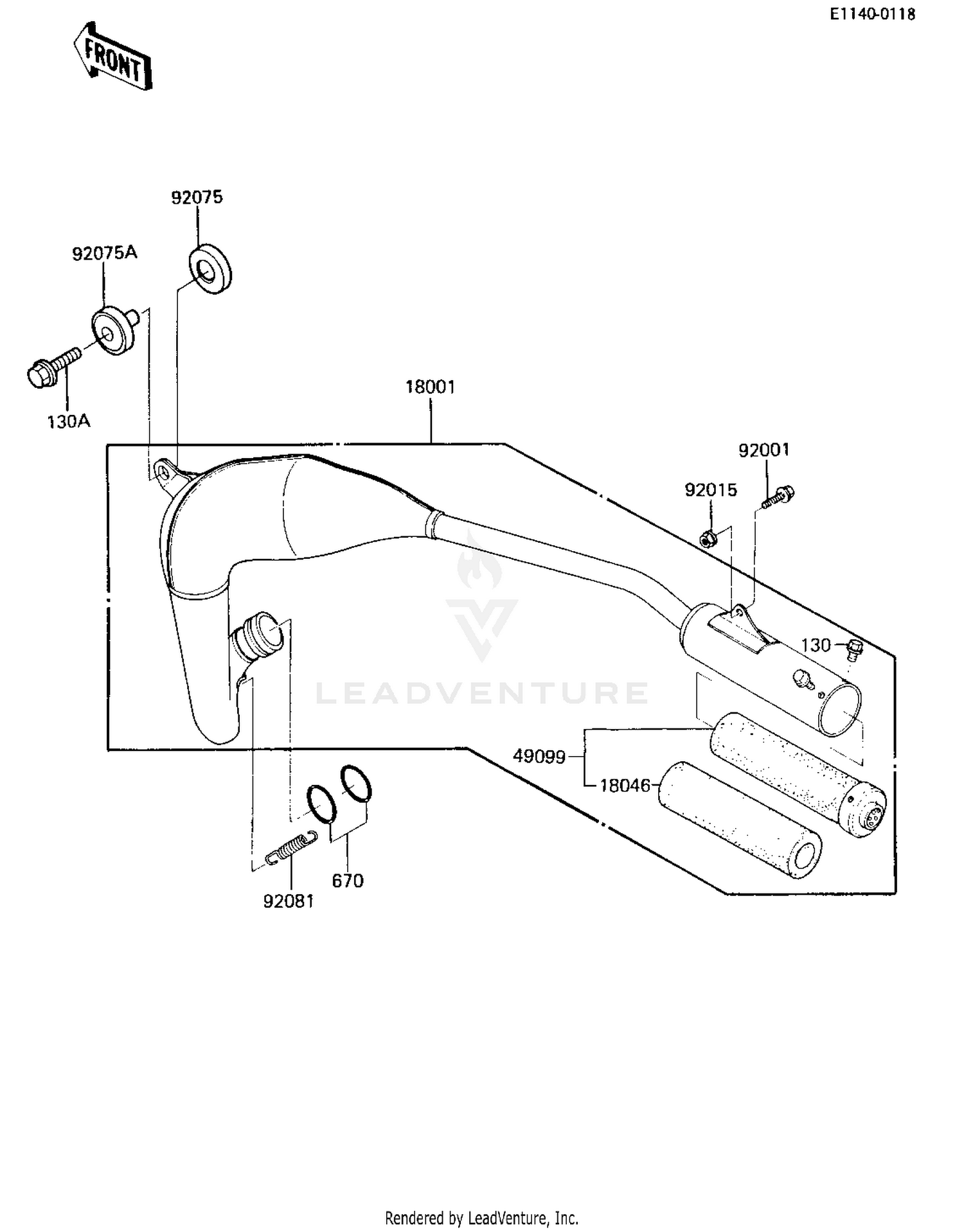
1985 Kawasaki KX80 MUFFLER ('84 KX80-E2)

Set this as my ride
MUFFLER ('84 KX80-E2)

WARNING Cancer and Reproductive Harm www.P65Warnings.ca.gov.

  • # Part Retail Our Price
    Stock Status Suggested Quantity
  • 18001
    18001-1556 muffler
    This part is currently unavailable.
  • 18046
    18046-1020 wool,baffle pipe
    This part is currently unavailable.
  • 49099
    49099-1113 baffle-pipe muffler,m
    This part is currently unavailable.
  • 92001
    92001-1517 bolt,w/washer,6x12
    This part is currently unavailable.
  • 92015
    92210-0630 nut,flanged,6mm Supersedes: 92015-1078 (NUT,FLANGED,6MM) Price: $2.30
    In Stock
  • 92075
    Expected to Ship in 4-9 Days
  • 92075A
    92075-1572 damper,muffler
    This part is currently unavailable.
  • 92081
    18071-003 spring-connector Retail: $11.49 Price: $10.57
    Expected to Ship in 4-9 Days
  • 130
    130BA0508 bolt-flanged,5x8 Supersedes: 130G0508 (BOLT-FLANGED) Price: $2.14
    In Stock
  • 130A
    130BA0625 bolt-flanged,6x25 Supersedes: 130H0625 (BOLT-FLANGED,6X25) Price: $1.38
    In Stock
  • 670
    670E3036 0 ring,36m/m Retail: $17.27 Price: $15.89
    Expected to Ship in 4-9 Days
All 1985 Kawasaki KX80 Part Groups
Added to your cart
CLOSE