Kickstart your Riding Season with Bike Prep and Riding Gear Shop Now
CLOSE
Shipping to US Flag United States
Free shipping over $79
Moto Madness Sale | Get Up To 65% Off Parts & Gear Shop Now

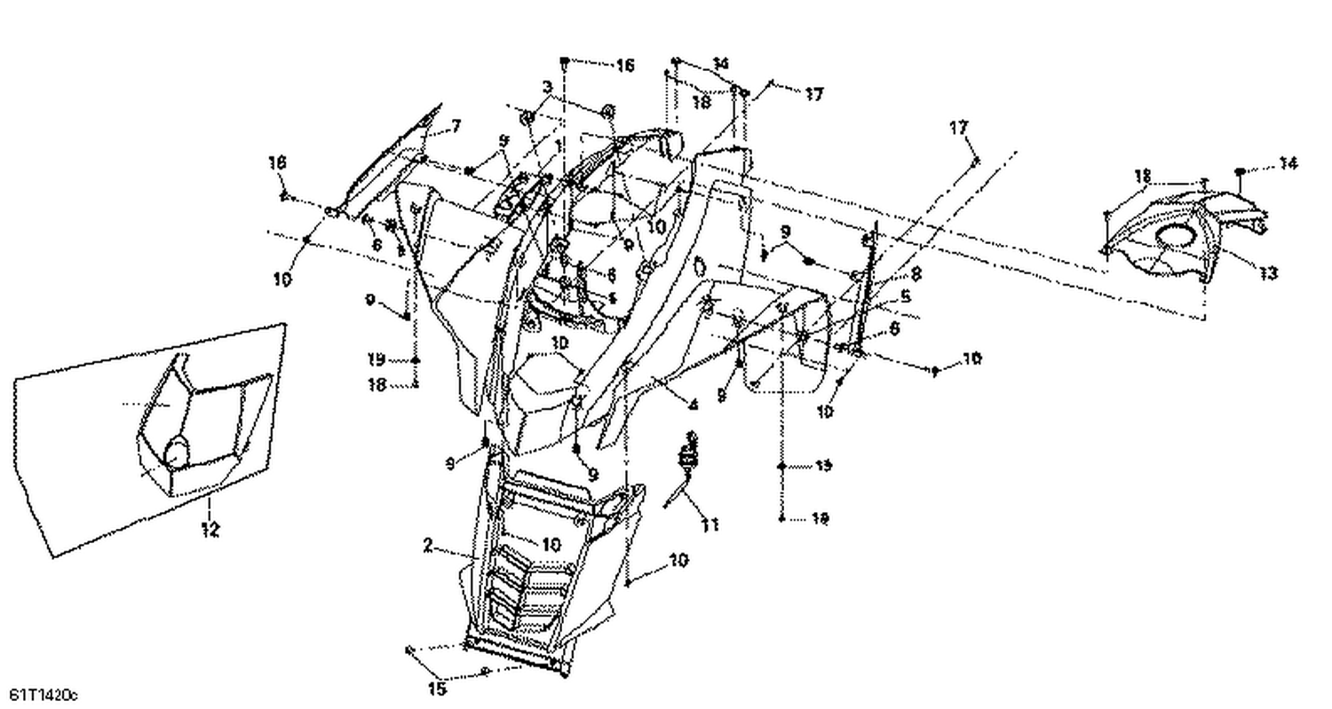
2014 Can-Am DS 250 09- Front Fender EUR

Set this as my ride
09- Front Fender EUR

WARNING Cancer and Reproductive Harm www.P65Warnings.ca.gov.

All 2014 Can-Am DS 250 Part Groups
Added to your cart
CLOSE