BOGOS End Today! | Buy One Get One Deals Shop Now
CLOSE
Shipping to US Flag United States
Free shipping over $79
My Ride: 2005 Honda Shadow Spirit 1100 - VT1100C
Fast Cash Week Ends Today! | Earn $25 Fast Cash When You Spend $199 Learn More

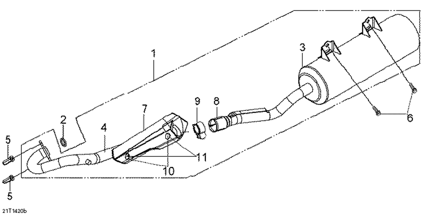
2014 Can-Am DS 250 01- Exhaust System INT

Set this as my ride
01- Exhaust System INT

WARNING Cancer and Reproductive Harm www.P65Warnings.ca.gov.

All 2014 Can-Am DS 250 Part Groups
Added to your cart
CLOSE