Kickstart your Riding Season with Bike Prep and Riding Gear Shop Now
CLOSE
Shipping to US Flag United States
Free shipping over $79
My Ride: 2017 Can-Am OUTLANDER MAX 570 XT
Moto Madness Sale | Get Up To 65% Off Parts & Gear Shop Now

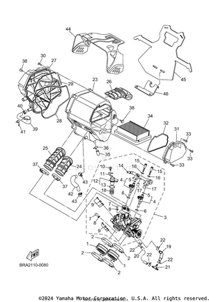
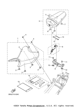
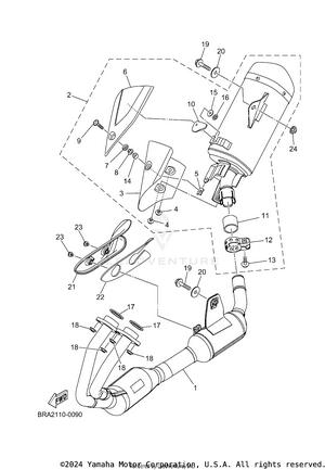
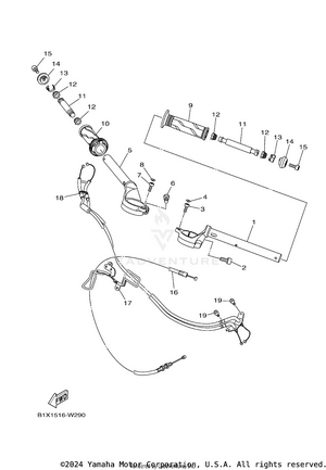
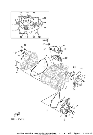
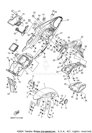
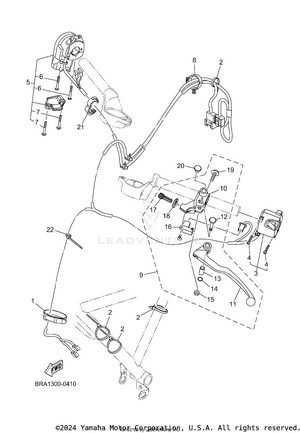
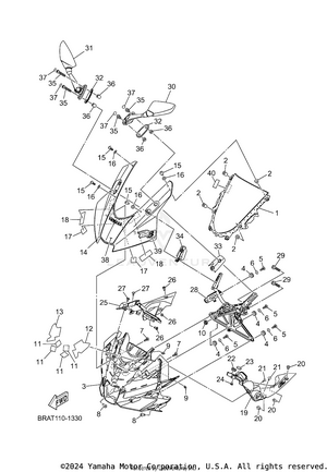
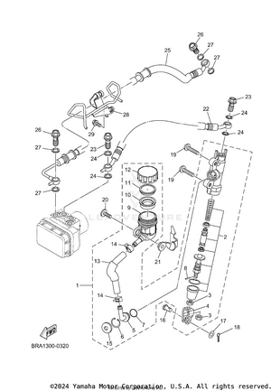
2026 Yamaha YZF-R3 ABS 70TH ANNIVERSARY OEM Parts

Set this as my ride