Get Out and Ride | Dialed Gear. Tuned Parts. Dirt Ready. Shop Now
CLOSE
Shipping to US Flag United States
Free shipping over $79
My Ride: 2016 Polaris SCRAMBLER 850
Bargain Bin | Save 40% to 90% off Some of our steepest gear and casual discounts Shop Now

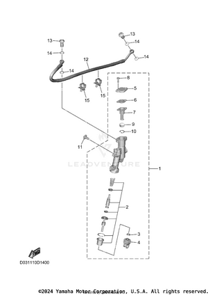
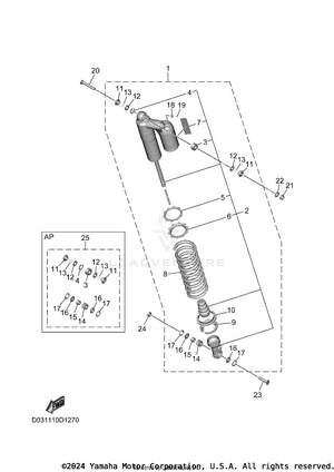
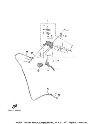
2026 Yamaha YZ450F OEM Parts

Set this as my ride