BOGOS | Buy One Get One Deals Shop Now
CLOSE
Shipping to US Flag United States
Free shipping over $79
My Ride: 2021 KTM 350XCF
Fast Cash Week | Earn $25 Fast Cash When You Spend $199 Learn More

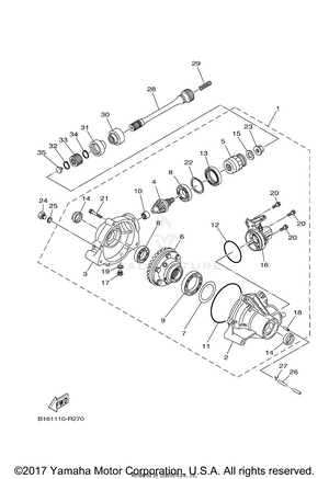
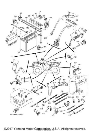
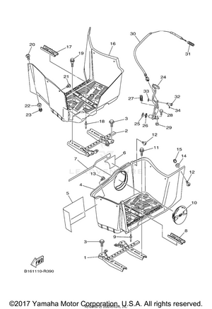
2018 Yamaha KODIAK 700 4WD HUNTER OEM Parts

Set this as my ride