Get Out and Ride | Dialed Gear. Tuned Parts. Dirt Ready. Shop Now
CLOSE
Shipping to US Flag United States
Free shipping over $79
My Ride: 2004 Honda Rebel 250 - CMX250C
BOGOS | Buy One Get One Deals Shop Now

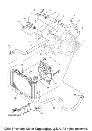
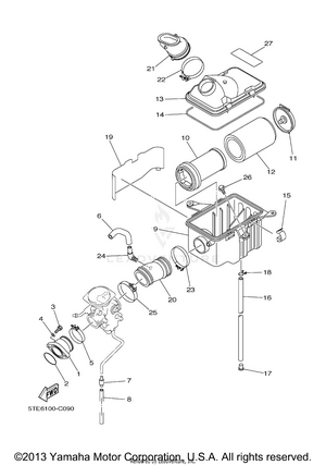
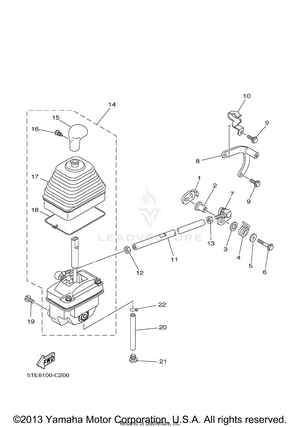
2004 Yamaha KODIAK 400 2X4 OEM Parts

Set this as my ride