Contact Us
Orders over $79.00 will receive free shipping. This is a residential delivery service, deliveries Monday through Friday from 9:00am to 8:00pm.
Learn MoreSorry we don't currently have any vehicles for the year 1990
In 1953, Yamaha, under the guidance of Genichi Kawakami, Yamaha Motor's first president, began a trial manufacture of motorcycle engines. Venturing a little late into the motorcycle world, Kawakami said, "If you are going to make it, make it the very best there is." In August 1954, the YA-1, Yamaha's first motorcycle was finished and immediately put through a 10,000 km endurance ride. It passed and Yamaha was a force to reckon. Yamaha manufactured its 20 millionth bike in 1982, and in 1994 Yamaha created Star Motorcycles, the brand name for its cruiser series of motorcycles.
Today, the Yamaha bike line includes sport bikes, trail bikes, road racers, dual-sport, sport touring and dirt bikes. Yamaha manufactures 50 to 500 cc scooters and their motorcycles range from 50 to 1,900 cc. Yamaha's success is well-known. The Yamaha YZ450F took the Supercross Championship in 2008 and 2009, and the company boasts numerous World Championships including MotoGP and the World Superbike Championship.
Kawakami's motto to be the best certainly applies to every facet of the motorcycle. If the whole is equal to the sum of its parts then it makes sense that every Yamaha part is made to be the very best. You can't make the best motorcycles if you don't have the best parts and for many owners nothing but the best means Yamaha OEM parts. Our customers who ride Yamaha number in the thousands and we understand those who demand only Yamaha OEM parts. Who wouldn't want Yamaha OEM parts considering the company's winning reputation? Kawakami also said he believed the most important considering point in building a product is to keep in mind the people who use it.
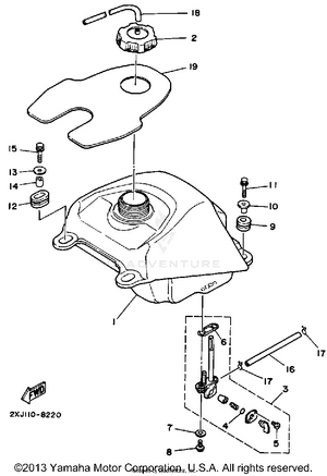
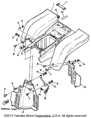
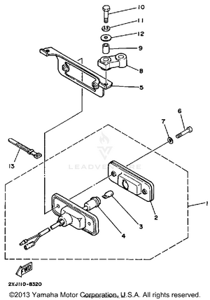
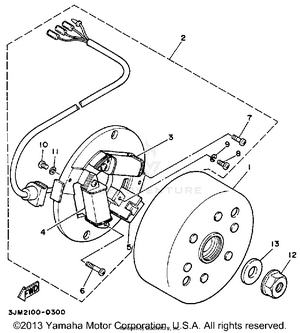
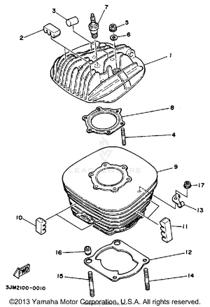
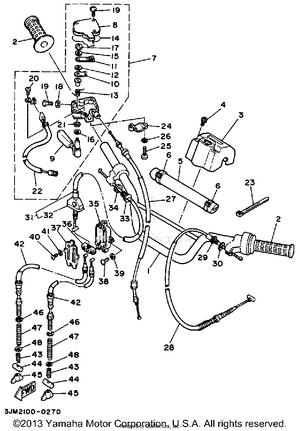
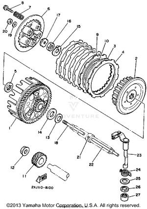
So why compromise? Genuine OEM Yamaha motorcycle parts keep your ride 100 percent Yamaha. MotoSport carries an abundance of Yamaha OEM motorcycle parts. We have parts as far back as 1985 like the FJ1100 and RZ350 to current year models. Our factory direct OEM Yamaha parts keep your motorcycle in stock form and quality. But don't forget, Yamaha also has built a reputation off the street, too. We carry schematics for all Yamaha OEM parts to help you find the exact part you need but if you need help call our toll free line 503-783-5645 and get connected to a gearhead who can help you find the right OEM Yamaha motorcycle parts you need to get back to riding and keep your motorcycle factory room fresh. Get the largest selection of OEM Yamaha parts delivered to your door with fast 3-day shipping on orders more than $79 only at MotoSport.com.