Kickstart your Riding Season with Bike Prep and Riding Gear Shop Now
CLOSE
Shipping to US Flag United States
Free shipping over $79
Moto Madness Sale | Get Up To 65% Off Parts & Gear Shop Now

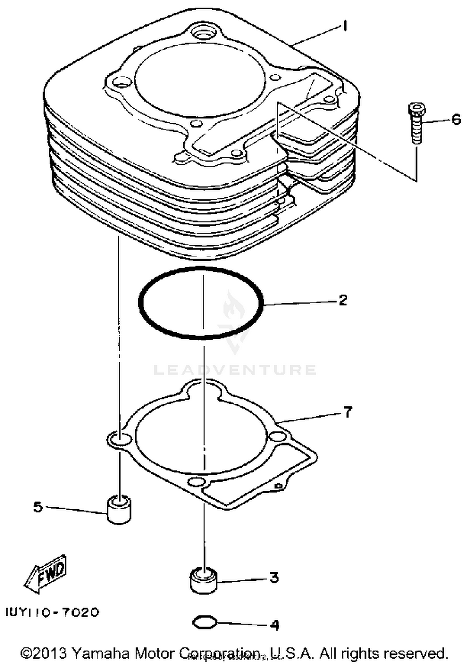
1990 Yamaha BIGBEAR 350 4X4 CYLINDER

Set this as my ride
CYLINDER

WARNING Cancer and Reproductive Harm www.P65Warnings.ca.gov.

  • # Part Retail Our Price
    Stock Status Suggested Quantity
  • 1
    1UY-11310-03-00 cylinder
    This part is currently unavailable.
  • 2
    93210-86509-00 o-ring Retail: $16.49 Price: $14.18
    In Stock
  • 3
    90387-16547-00 collar
    This part is currently unavailable.
  • 4
    93210-18322-00 o-ring Supersedes: 93210-18397-00 (O-RING) Price: $6.44
    In Stock
  • 5
    99530-14016-00 pin, dowel Supersedes: 91810-16016-00 (PIN, DOWEL A) Price: $4.37
    In Stock
  • 6
    90110-06138-00 bolt Supersedes: 91312-06030-00 (BOLT, HEXAGON SOCKET HEAD) Price: $7.46
    Expected to Ship in 5-8 Days
  • 7
    4KB-11351-00-00 gasket, cylinder Supersedes: 3GD-11351-00-00 (GASKET, CYLINDER) Retail: $22.99 Price: $19.77
    In Stock
Added to your cart
CLOSE