Kickstart your Riding Season with Bike Prep and Riding Gear Shop Now
CLOSE
Shipping to US Flag United States
Free shipping over $79
Moto Madness Sale | Get Up To 65% Off Parts & Gear Shop Now

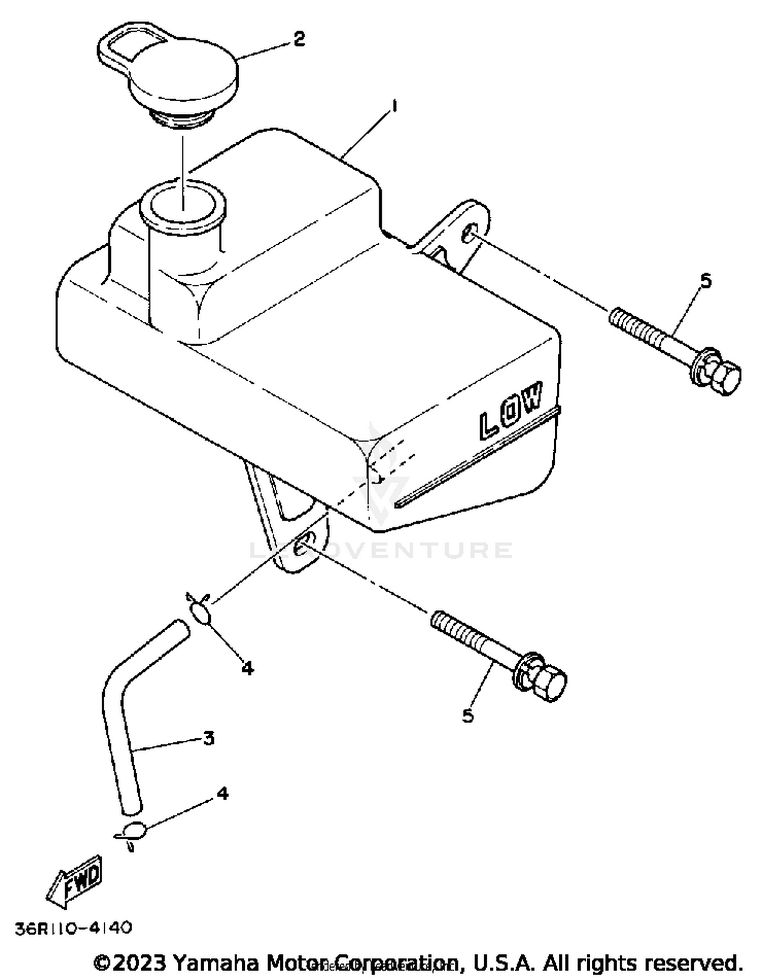
1986 Yamaha YF60S OIL TANK

Set this as my ride
OIL TANK

WARNING Cancer and Reproductive Harm www.P65Warnings.ca.gov.

  • # Part Retail Our Price
    Stock Status Suggested Quantity
  • 1
    36R-21751-00-00 tank, oil
    This part is currently unavailable.
  • 2
    2N3-21771-02-00 body, cap Supersedes: 2N3-21771-01-00 (BODY, CAP) Retail: $15.49 Price: $13.32
    Expected to Ship in 5-8 Days
  • 3
    5RB-24315-00-00 pipe 5 Supersedes: 90445-09003-00 (PIPE 5) Price: $9.76
    Expected to Ship in 5-8 Days
  • 4
    90467-08003-00 clip, scissor Retail: $11.49 Price: $9.88
    Expected to Ship in 5-8 Days
  • 5
    90119-06152-00 bolt, with washer Supersedes: 90119-06056-00 (BOLT, WITH WASHER) Price: $4.08
    In Stock
Added to your cart
CLOSE