Kickstart your Riding Season with Bike Prep and Riding Gear Shop Now
CLOSE
Shipping to US Flag United States
Free shipping over $79
Moto Madness Sale | Get Up To 65% Off Parts & Gear Shop Now

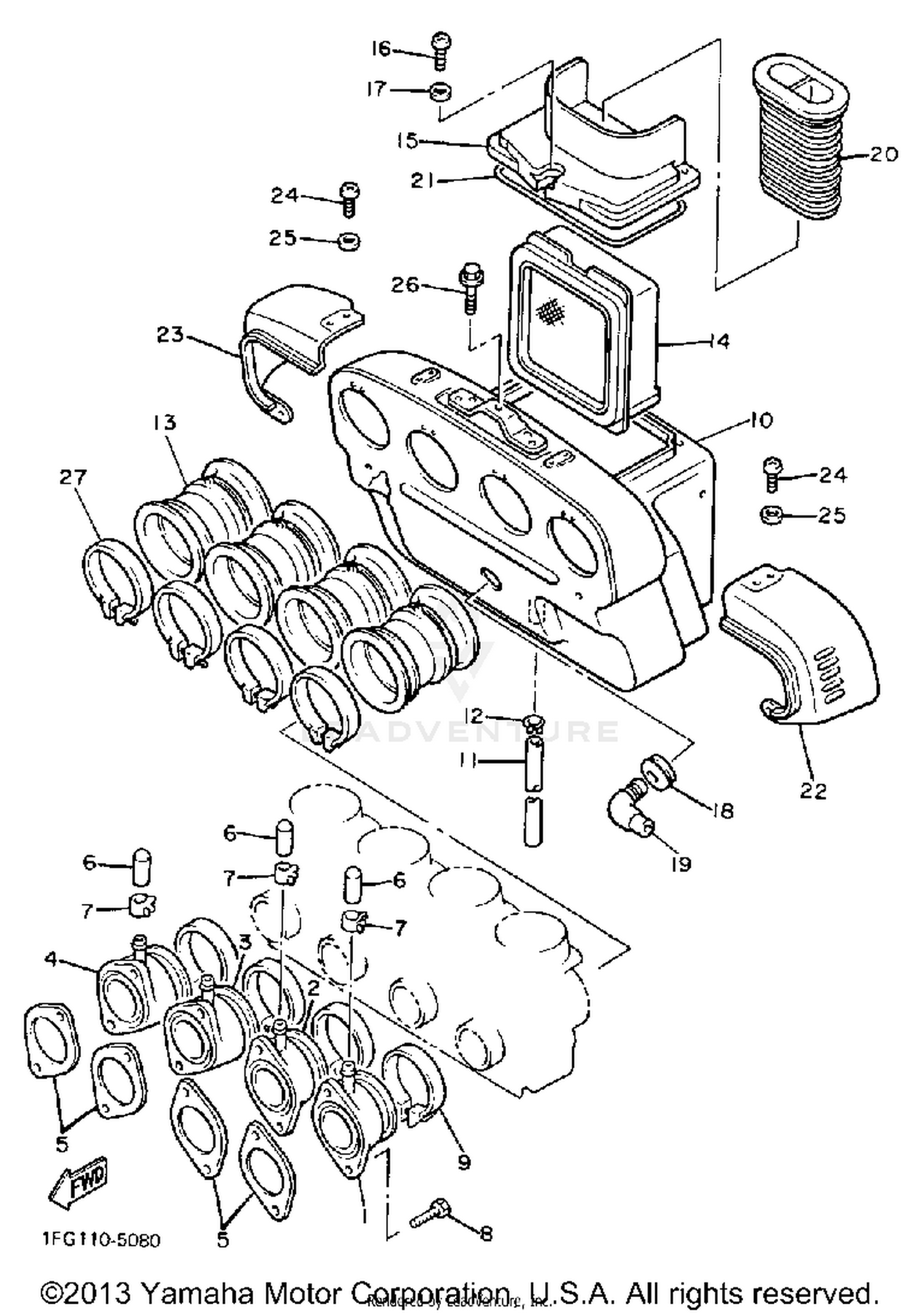
1985 Yamaha XJ700 AIR CLEANER

Set this as my ride
AIR CLEANER

WARNING Cancer and Reproductive Harm www.P65Warnings.ca.gov.

  • # Part Retail Our Price
    Stock Status Suggested Quantity
  • 1
    29R-13586-00-00 joint, carburetor 1
    This part is currently unavailable.
  • 2
    29R-13596-00-00 joint, carburetor 2
    This part is currently unavailable.
  • 3
    29R-13597-00-00 joint, carb 3
    This part is currently unavailable.
  • 4
    29R-13598-00-00 joint, carb 4
    This part is currently unavailable.
  • 5
    4H7-13556-11-00 gasket, manifold Supersedes: 4H7-13556-01-00 (GASKET, MANIFOLD) Price: $8.61
    Expected to Ship in 5-8 Days
  • 6
    Expected to Ship in 5-8 Days
  • 7
    90467-10039-00 clip Supersedes: 90467-10035-00 (CLIP) Retail: $10.49 Price: $9.02
    In Stock
  • 8
    91317-06020-00 bolt Supersedes: 90110-06117-00 (BOLT) Price: $3.16
    In Stock
  • 9
    90460-49248-00 clamp, hose Retail: $26.99 Price: $23.21
    Expected to Ship in 5-8 Days
  • 10
    1FG-14401-00-00 air clnr case assembly
    This part is currently unavailable.
  • 11
    90445-112E1-00 hose (l) Supersedes: 90445-11182-00 (HOSE (L249)) Retail: $25.99 Price: $22.35
    Expected to Ship in 5-8 Days
  • 12
    90467-090A2-00 clip Supersedes: 90467-09006-00 (CLIP) Price: $5.46
    In Stock
  • 13
    1FG-14453-00-00 joint, air clnr 1
    This part is currently unavailable.
  • 14
    1AA-14451-00-00 element, air clnr Retail: $68.99 Price: $55.88
    Expected to Ship in 5-8 Days
  • 15
    1AA-14412-00-00 cap, cleaner case 1
    This part is currently unavailable.
  • 16
    Expected to Ship in 5-8 Days
  • 17
    92990-05600-00 washer, plate Supersedes: 92902-05600-00 (WASHER, PLATE)
    This part is currently unavailable.
  • 18
    31A-14435-01-00 grommet Supersedes: 31A-14435-00-00 (GROMMET) Price: $6.89
    In Stock
  • 19
    In Stock
  • 20
    1AA-14437-00-00 duct
    This part is currently unavailable.
  • 21
    51Y-14462-00-00 seal Supersedes: 1T9-14416-00-00 (SEAL) Retail: $19.99 Price: $17.19
    In Stock
  • 22
    1AA-1441A-00-00 cover, clnr case 1
    This part is currently unavailable.
  • 23
    1AA-1441E-00-00 cover, clnr case 2
    This part is currently unavailable.
  • 24
    97780-50612-00 screw, tapping Supersedes: 97702-50512-00 (SCREW, TAPPING) Price: $5.06
    Expected to Ship in 5-8 Days
  • 25
    92990-05200-00 washer, plain Supersedes: 92902-05200-00 (WASHER, PLAIN) Price: $5.75
    In Stock
  • 26
    Expected to Ship in 5-8 Days
  • 27
    90450-56001-00 hose clamp assy Supersedes: 90460-56105-00 (CLAMP, HOSE) Retail: $19.49 Price: $16.76
    In Stock
Added to your cart
CLOSE