BOGOS | Buy One Get One Deals Shop Now
CLOSE
Shipping to US Flag United States
Free shipping over $79
Fast Cash Week | Earn $25 Fast Cash When You Spend $199 Learn More

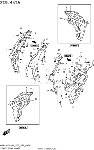
2026 Suzuki GSX-S1000R OEM Parts

Set this as my ride

View all parts for your 2026 Suzuki GSX-S1000R

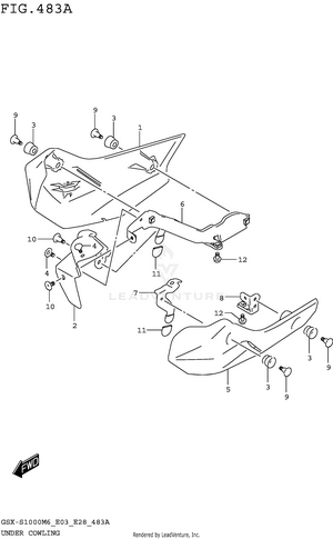
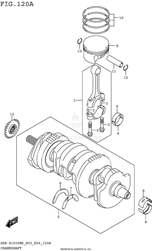
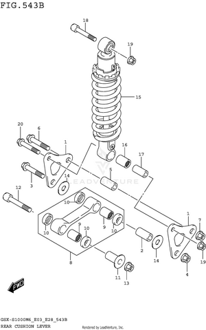
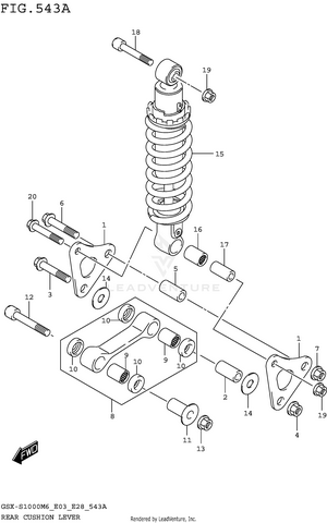
2ND AIR AIR CLEANER BATTERY BODY ELECTRICAL CAM CHAIN CAMSHAFT/VALVE CLUTCH CRANK BALANCER CRANKCASE CRANKCASE (2) CRANKCASE COVER CRANKSHAFT CYLINDER HEAD CYLINDER HEAD COVER ELECTRICAL EVAP SYSTEM (GSX-S1000RQM6 E33) FOOTREST FRAME FRAME BODY COVER FRAME CENTER COVER FRAME COVER FRONT BRAKE HOSE FRONT CALIPER FRONT FENDER FRONT FORK DAMPER FRONT MASTER CYLINDER FRONT WHEEL FUEL PUMP FUEL TANK (GSX-S1000RQM6 E03) FUEL TANK (GSX-S1000RQM6 E28) FUEL TANK (GSX-S1000RQM6 E33) FUEL TANK BRACKET FUEL TANK FRONT COVER GASKET SET GEAR SHIFTING GENERATOR HANDLE LEVER HANDLE SWITCH HANDLEBAR HEADLAMP HEADLAMP HOUSING HOLDER HYDRAULIC UNIT LABEL (GSX-S1000RQM6 E03) LABEL (GSX-S1000RQM6 E28) LABEL (GSX-S1000RQM6 E33) LOCK SET MUFFLER OIL COOLER OIL PAN/OIL PUMP RADIATOR RADIATOR COVER RADIATOR HOSE REAR CALIPER REAR COMBINATION LAMP (GSX-S1000RQM6 E03) REAR COMBINATION LAMP (GSX-S1000RQM6 E28) REAR COMBINATION LAMP (GSX-S1000RQM6 E33) REAR CUSHION LEVER REAR CUSHION LEVER (GSX-S1000RQM6 E28) REAR FENDER REAR MASTER CYLINDER REAR SWINGINGARM REAR WHEEL SEAT SIDE COVER SIDE REAR COVER SIGNAL GENERATOR SPEEDOMETER (GSX-S1000RQM6 E03) SPEEDOMETER (GSX-S1000RQM6 E28) SPEEDOMETER (GSX-S1000RQM6 E33) STAND STARTER CLUTCH STARTING MOTOR STEERING STEM THROTTLE BODY (GSX-S1000RQM6 E03) THROTTLE BODY (GSX-S1000RQM6 E28) THROTTLE BODY (GSX-S1000RQM6 E33) TRANSMISSION TURNSIGNAL LAMP UNDER COWLING WATER PUMP WIRING HARNESS (GSX-S1000RQM6 E03) WIRING HARNESS (GSX-S1000RQM6 E28) WIRING HARNESS (GSX-S1000RQM6 E33)