HOT DEAL! 100% | Up To 40% Off Shop Now
CLOSE
Shipping to US Flag United States
Free shipping over $79
My Ride: 1989 Harley Davidson Electra Glide Classic - FLHTC
Spring Sale Bargain Bin Save 40% - 90% Off! Shop Now

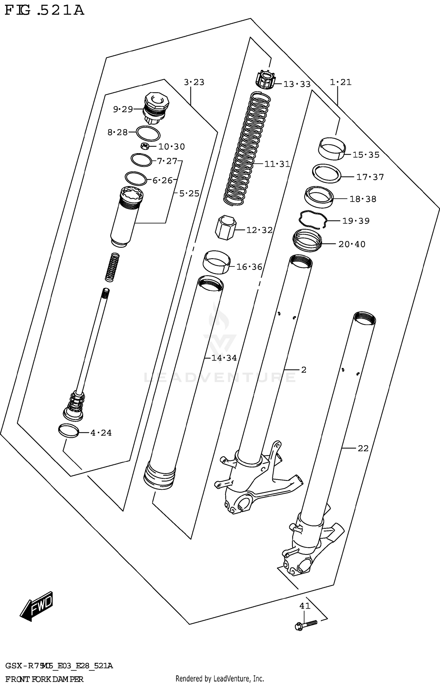
2025 Suzuki GSXR750M FRONT FORK DAMPER

Set this as my ride
FRONT FORK DAMPER

WARNING Cancer and Reproductive Harm www.P65Warnings.ca.gov.

Added to your cart
CLOSE