HOT DEAL! 100% | Up To 40% Off Shop Now
CLOSE
Shipping to US Flag United States
Free shipping over $79
My Ride: 2021 Cfmoto CFORCE 400
Spring Sale Bargain Bin Save 40% - 90% Off! Shop Now

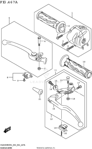
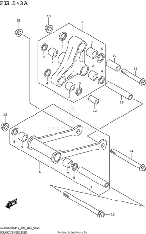
2024 Suzuki V-STROM - DL800 OEM Parts

Set this as my ride