HOT DEAL! 100% | Up To 40% Off Shop Now
CLOSE
Shipping to US Flag United States
Free shipping over $79
My Ride: 2021 Cfmoto CFORCE 400
Spring Sale Bargain Bin Save 40% - 90% Off! Shop Now

2024 Suzuki GSX-S1000TR OEM Parts

Set this as my ride

View all parts for your 2024 Suzuki GSX-S1000TR

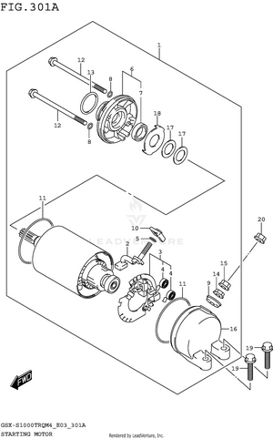
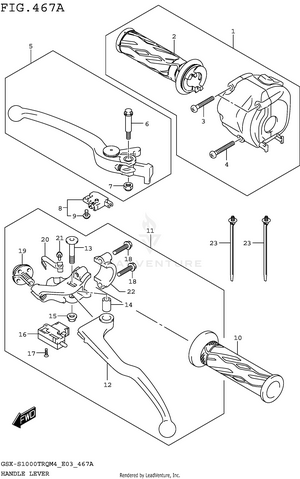
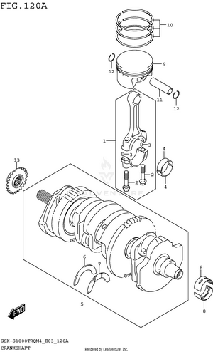
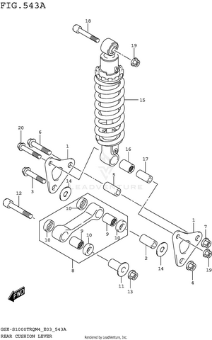
2ND AIR AIR CLEANER (GSX-S1000TRQM4 E03) AIR CLEANER (GSX-S1000TRQM4 E28) AIR CLEANER (GSX-S1000TRQM4 E33) BATTERY BODY ELECTRICAL CAM CHAIN CAMSHAFT/VALVE CLUTCH COWLING BODY COWLING INSTALLATION PARTS CRANK BALANCER CRANKCASE CRANKCASE (2) CRANKCASE COVER CRANKSHAFT CYLINDER HEAD (GSX-S1000TRQM4 E03) CYLINDER HEAD (GSX-S1000TRQM4 E28) CYLINDER HEAD (GSX-S1000TRQM4 E33) CYLINDER HEAD COVER ELECTRICAL (GSX-S1000TRQM4 E03) ELECTRICAL (GSX-S1000TRQM4 E28) ELECTRICAL (GSX-S1000TRQM4 E33) EVAP SYSTEM (GSX-S1000TRQM4 E33) FOOTREST FRAME FRAME BODY COVER FRONT BRAKE HOSE FRONT CALIPER FRONT FENDER FRONT FORK DAMPER FRONT MASTER CYLINDER FRONT WHEEL FUEL PUMP FUEL TANK (GSX-S1000TRQM4 E03) FUEL TANK (GSX-S1000TRQM4 E28) FUEL TANK (GSX-S1000TRQM4 E33) FUEL TANK BRACKET (GSX-S1000TRQM4 E03) FUEL TANK BRACKET (GSX-S1000TRQM4 E28) FUEL TANK BRACKET (GSX-S1000TRQM4 E33) FUEL TANK FRONT COVER (GSX-S1000TRQM4 E03) FUEL TANK FRONT COVER (GSX-S1000TRQM4 E28) FUEL TANK FRONT COVER (GSX-S1000TRQM4 E33) GASKET SET GEAR SHIFTING GENERATOR HANDLE LEVER HANDLE SWITCH HANDLEBAR HEADLAMP HOLDER HYDRAULIC UNIT LABEL (GSX-S1000TRQM4 E03) LABEL (GSX-S1000TRQM4 E28) LABEL (GSX-S1000TRQM4 E33) LOCK SET MUFFLER (GSX-S1000TRQM4 E03) MUFFLER (GSX-S1000TRQM4 E28) MUFFLER (GSX-S1000TRQM4 E33) OIL COOLER OIL PAN/OIL PUMP PILLION RIDER HANDLE RADIATOR RADIATOR HOSE REAR CALIPER REAR COMBINATION LAMP REAR CUSHION LEVER REAR FENDER REAR MASTER CYLINDER REAR SWINGINGARM REAR WHEEL SEAT SIDE COVER SIDE REAR COVER SIGNAL GENERATOR SPEEDOMETER (GSX-S1000TRQM4 E03) SPEEDOMETER (GSX-S1000TRQM4 E28) SPEEDOMETER (GSX-S1000TRQM4 E33) STAND STARTER CLUTCH STARTING MOTOR STEERING STEM THROTTLE BODY (GSX-S1000TRQM4 E03) THROTTLE BODY (GSX-S1000TRQM4 E28) THROTTLE BODY (GSX-S1000TRQM4 E33) TRANSMISSION TURNSIGNAL LAMP UNDER COWLING WATER PUMP WIRING HARNESS (GSX-S1000TRQM4 E03) WIRING HARNESS (GSX-S1000TRQM4 E28) WIRING HARNESS (GSX-S1000TRQM4 E33)