LUCKY YOU! Extra 10% Off Clearance | Use Code POTOGOLD10 Limited Time! Ends 3/21 Shop Now
CLOSE
Shipping to US Flag United States
Free shipping over $79
My Ride: 2017 Can-Am OUTLANDER MAX 450
Moto Madness Sale | Get Up To 65% Off Parts & Gear Shop Now

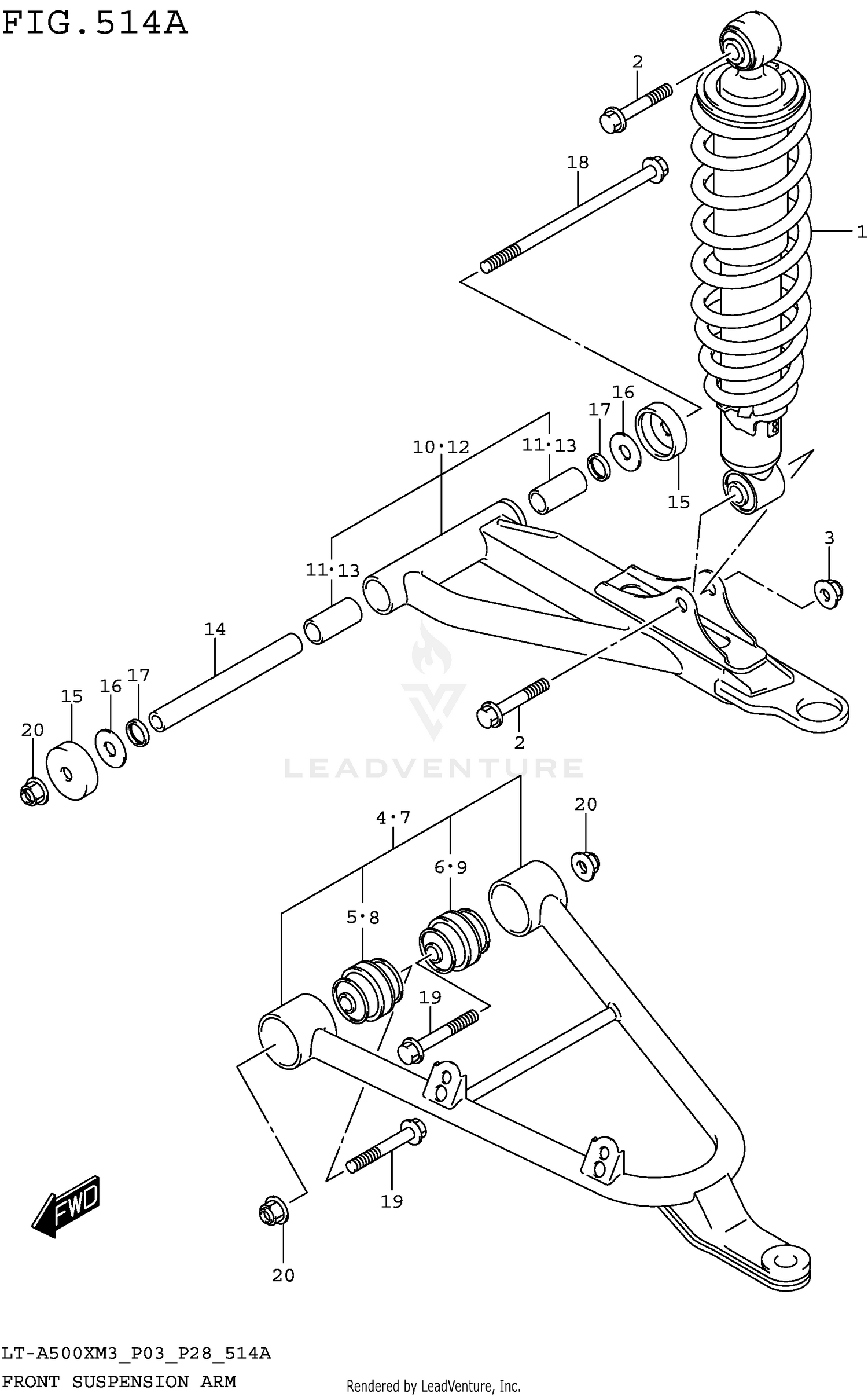
2023 Suzuki KING QUAD 500 X FRONT SUSPENSION ARM (LT-A500XPM3 P03)

Set this as my ride
FRONT SUSPENSION ARM (LT-A500XPM3 P03)

WARNING Cancer and Reproductive Harm www.P65Warnings.ca.gov.

All 2023 Suzuki KING QUAD 500 X Part Groups
Added to your cart
CLOSE