BOGOS End Today! | Buy One Get One Deals Shop Now
CLOSE
Shipping to US Flag United States
Free shipping over $79
My Ride: 2005 Yamaha RAPTOR 350
Fast Cash Week Ends Today! | Earn $25 Fast Cash When You Spend $199 Learn More

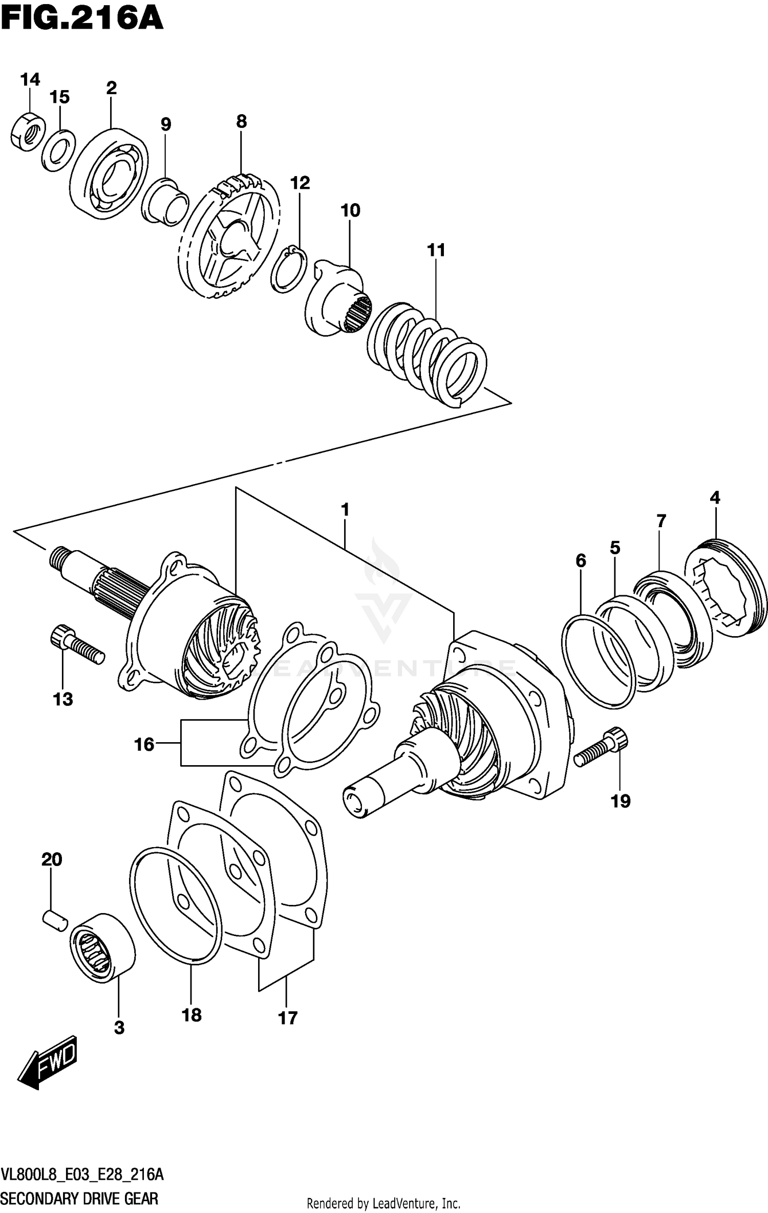
2018 Suzuki VL800 SECONDARY DRIVE GEAR

Set this as my ride
SECONDARY DRIVE GEAR

WARNING Cancer and Reproductive Harm www.P65Warnings.ca.gov.

All 2018 Suzuki VL800 Part Groups
Added to your cart
CLOSE