LUCKY YOU! Extra 10% Off Clearance | Use Code POTOGOLD10 Limited Time! Ends 3/21 Shop Now
CLOSE
Shipping to US Flag United States
Free shipping over $79
My Ride: 2018 Yamaha FJR1300 - FJR13
Moto Madness Sale | Get Up To 65% Off Parts & Gear Shop Now

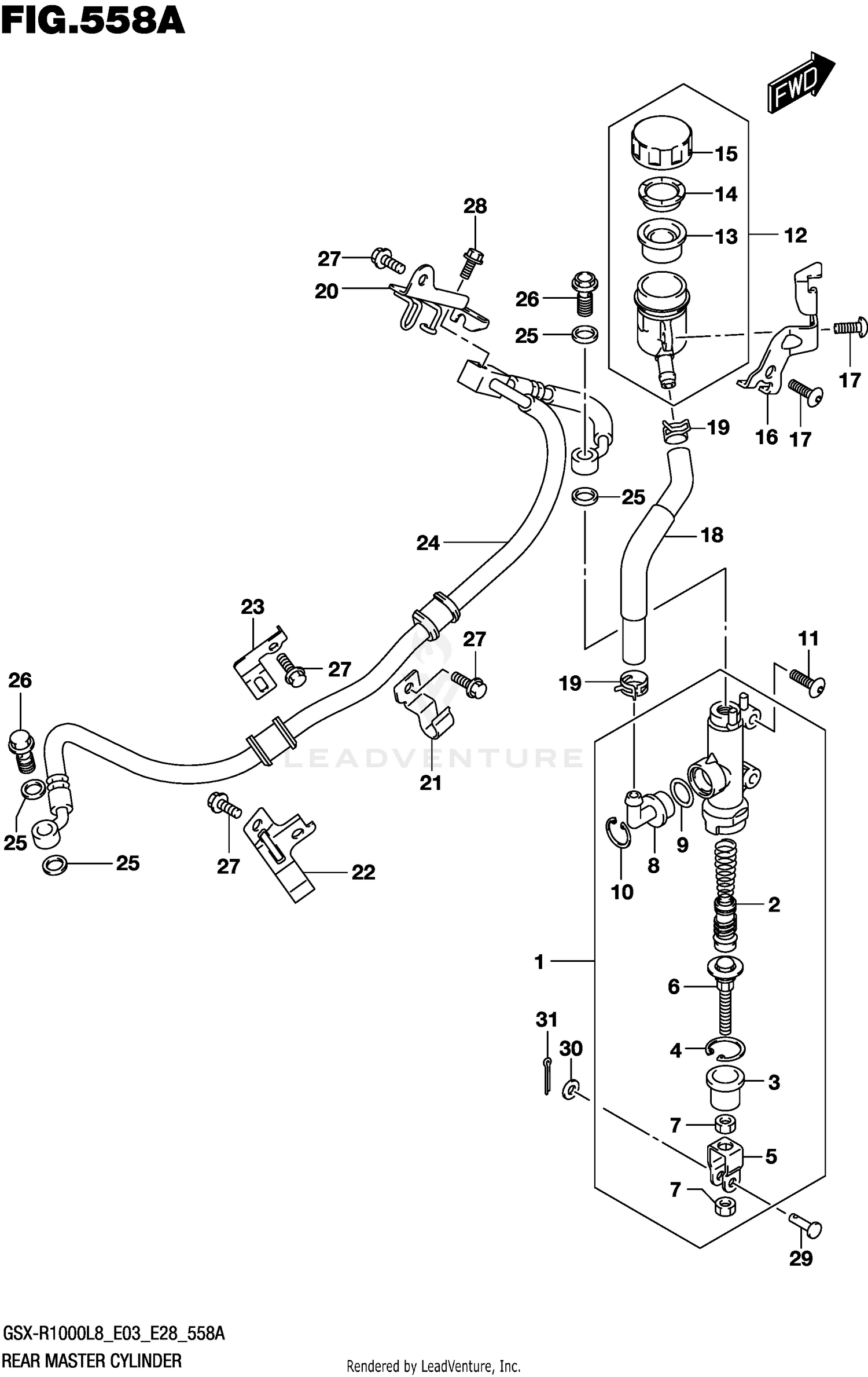
2018 Suzuki GSXR1000A REAR MASTER CYLINDER (GSX-R1000L8 E03)

Set this as my ride
REAR MASTER CYLINDER (GSX-R1000L8 E03)

WARNING Cancer and Reproductive Harm www.P65Warnings.ca.gov.

All 2018 Suzuki GSXR1000A Part Groups
Added to your cart
CLOSE