Renthal Deal! Up To 10% Off Shop Now
CLOSE
Shipping to US Flag United States
Free shipping over $79
My Ride: 2020 Cfmoto CFORCE 600
Moto Madness Sale | Get Up To 65% Off Parts & Gear Shop Now

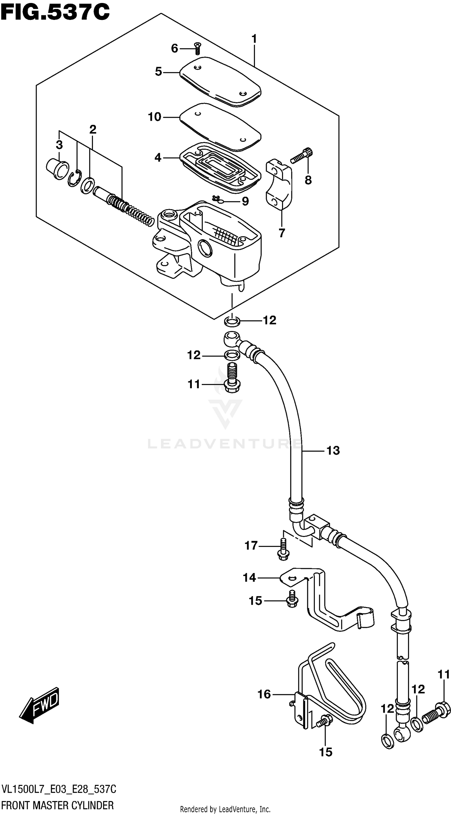
2017 Suzuki VL1500B FRONT MASTER CYLINDER (VL1500BL7 E33)

Set this as my ride
FRONT MASTER CYLINDER (VL1500BL7 E33)

WARNING Cancer and Reproductive Harm www.P65Warnings.ca.gov.

All 2017 Suzuki VL1500B Part Groups
Added to your cart
CLOSE