Kickstart your Riding Season with Bike Prep and Riding Gear Shop Now
CLOSE
Shipping to US Flag United States
Free shipping over $79
Moto Madness Sale | Get Up To 65% Off Parts & Gear Shop Now

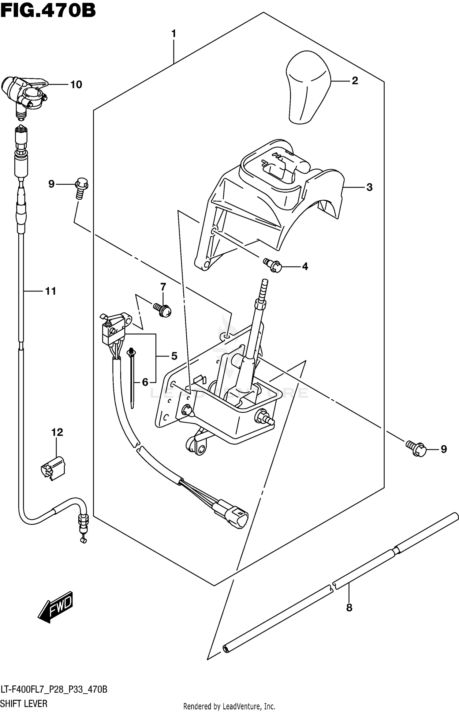
2017 Suzuki KING QUAD 400 FSI SHIFT LEVER (LT-F400FL7 P33)

Set this as my ride
SHIFT LEVER (LT-F400FL7 P33)

WARNING Cancer and Reproductive Harm www.P65Warnings.ca.gov.

All 2017 Suzuki KING QUAD 400 FSI Part Groups
Added to your cart
CLOSE