LUCKY YOU! Extra 10% Off Clearance | Use Code POTOGOLD10 Limited Time! Ends 3/21 Shop Now
CLOSE
Shipping to US Flag United States
Free shipping over $79
Moto Madness Sale | Get Up To 65% Off Parts & Gear Shop Now

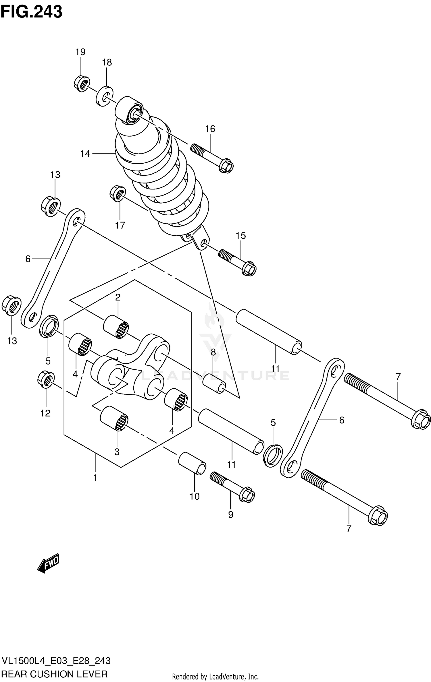
2014 Suzuki VL1500B REAR CUSHION LEVER (VL1500L4 E33)

Set this as my ride
REAR CUSHION LEVER (VL1500L4 E33)

WARNING Cancer and Reproductive Harm www.P65Warnings.ca.gov.

All 2014 Suzuki VL1500B Part Groups
Added to your cart
CLOSE