Kickstart your Riding Season with Bike Prep and Riding Gear Shop Now
CLOSE
Shipping to US Flag United States
Free shipping over $79
Bargain Bin Blowout! | Save 40-90% Off! Shop Now

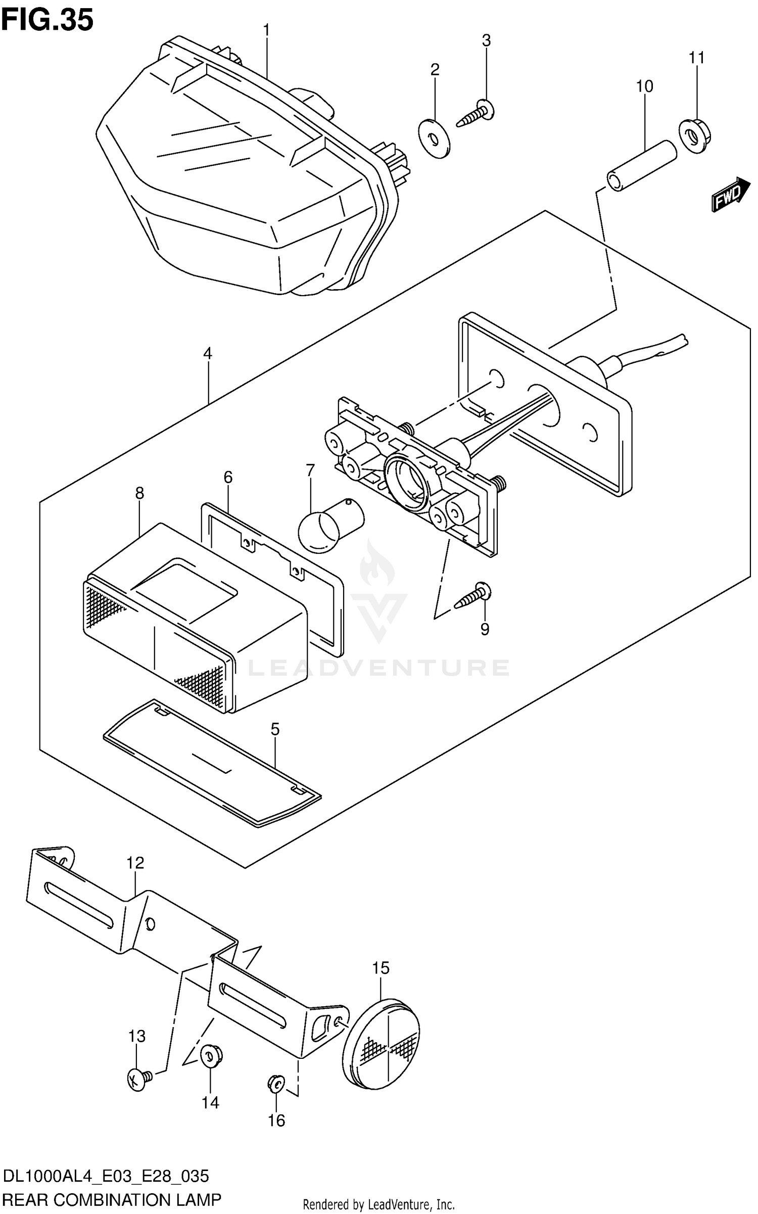
2014 Suzuki DL1000 REAR COMBINATION LAMP

Set this as my ride
REAR COMBINATION LAMP

WARNING Cancer and Reproductive Harm www.P65Warnings.ca.gov.

All 2014 Suzuki DL1000 Part Groups
Added to your cart
CLOSE