Renthal Deal! Up To 10% Off Shop Now
CLOSE
Shipping to US Flag United States
Free shipping over $79
My Ride: 2012 Triumph Scrambler
Moto Madness Sale | Get Up To 65% Off Parts & Gear Shop Now

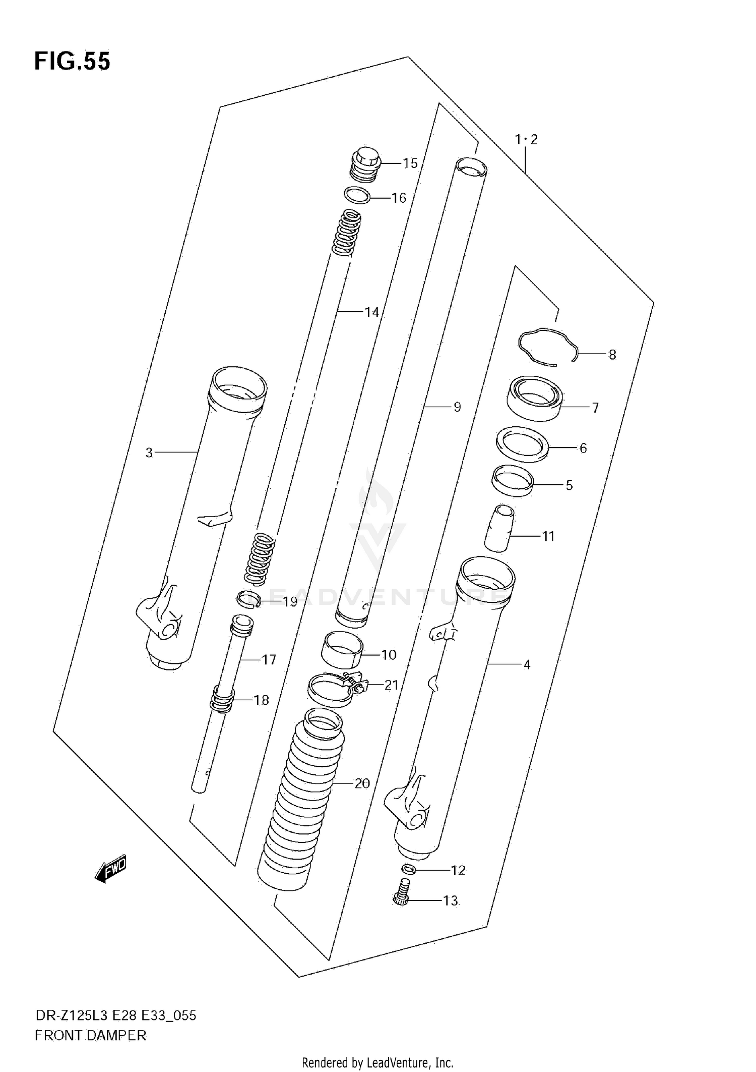
2013 Suzuki DRZ125 FRONT DAMPER (DR-Z125L3 E33)

Set this as my ride
FRONT DAMPER (DR-Z125L3 E33)

WARNING Cancer and Reproductive Harm www.P65Warnings.ca.gov.

All 2013 Suzuki DRZ125 Part Groups
Added to your cart
CLOSE