Acerbis Plastic Kits Starting At $119.99 Shop Now
CLOSE
Shipping to US Flag United States
Free shipping over $79
Fast Cash Week Ends Tomorrow | Earn $10 When you Spend $99 + $25 When You Spend $199 Shop Now

2012 Suzuki KING QUAD 550 OEM Parts

Set this as my ride

View all parts for your 2012 Suzuki KING QUAD 550

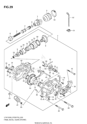
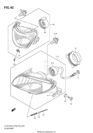
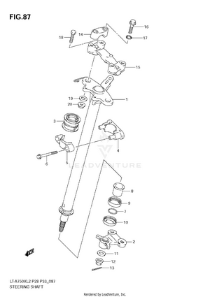
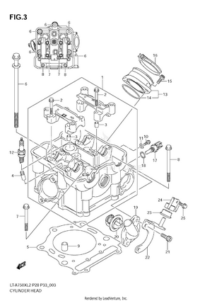
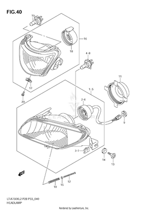
AIR CLEANER BATTERY CAM CHAIN CAMSHAFT-VALVE CARRIER (LT-A750X L2 E28) CARRIER (LT-A750X L2 E33) CARRIER (LT-A750XZ L2 E28) CARRIER (LT-A750XZ L2 E33) COOLING DUCT CRANK BALANCER CRANKCASE CRANKCASE COVER CRANKSHAFT CYLINDER CYLINDER HEAD CYLINDER HEAD COVER ELECTRICAL FINAL BEVEL GEAR (FRONT) FINAL BEVEL GEAR (REAR) FOOTREST FRAME FRONT BOX FRONT BRAKE HOSE FRONT CALIPER FRONT DRIVE SHAFT FRONT FENDER (LT-A750X L2 E28) FRONT FENDER (LT-A750X L2 E33) FRONT FENDER (LT-A750XZ L2 E28) FRONT FENDER (LT-A750XZ L2 E33) FRONT GRILLE (LT-A750X L2 E28) FRONT GRILLE (LT-A750X L2 E33) FRONT GRILLE (LT-A750XZ L2 E28) FRONT GRILLE (LT-A750XZ L2 E33) FRONT MASTER CYLINDER FRONT SUSPENSION ARM FRONT WHEEL (LT-A750X L2 E28) FRONT WHEEL (LT-A750X L2 E33) FRONT WHEEL (LT-A750XZ L2 E28) FRONT WHEEL (LT-A750XZ L2 E33) FUEL PUMP FUEL TANK GASKET SET GEAR SHIFTING HANDLE BAR HANDLE COVER (LT-A750X L2 E28) HANDLE COVER (LT-A750X L2 E33) HANDLE COVER (LT-A750XZ L2 E28) HANDLE COVER (LT-A750XZ L2 E33) HANDLE LEVER HEADLAMP (LT-A750X L2 E28) HEADLAMP (LT-A750X L2 E33) HEADLAMP (LT-A750XZ L2 E28) HEADLAMP (LT-A750XZ L2 E33) LABEL (LT-A750X L2 E28) LABEL (LT-A750X L2 E33) LABEL (LT-A750XZ L2 E28) LABEL (LT-A750XZ L2 E33) LEFT REAR WHEEL (LT-A750X L2 E28) LEFT REAR WHEEL (LT-A750X L2 E33) LEFT REAR WHEEL (LT-A750XZ L2 E28) LEFT REAR WHEEL (LT-A750XZ L2 E33) MAGNETO MUDGUARD MUFFLER OIL PUMP OPTIONAL RADIATOR (LT-A750X L2 E28) RADIATOR (LT-A750X L2 E33) RADIATOR (LT-A750XZ L2 E28) RADIATOR (LT-A750XZ L2 E33) RADIATOR HOSE REAR BOX REAR BRAKE REAR BRAKE ASSY REAR COMBINATION LAMP (LT-A750X L2 E28) REAR COMBINATION LAMP (LT-A750X L2 E33) REAR COMBINATION LAMP (LT-A750XZ L2 E28) REAR COMBINATION LAMP (LT-A750XZ L2 E33) REAR DRIVE SHAFT REAR FENDER (LT-A750X L2 E28) REAR FENDER (LT-A750X L2 E33) REAR FENDER (LT-A750XZ L2 E28) REAR FENDER (LT-A750XZ L2 E33) REAR SHOCK ABSORBER REAR SUSPENSION ARM RECOIL COVER RIGHT REAR WHEEL (LT-A750X L2 E33) RIGHT REAR WHEEL (LT-A750XL2 E28) RIGHT REAR WHEEL (LT-A750XZ L2 E28) RIGHT REAR WHEEL (LT-A750XZ L2 E33) SEAT SECONDARY DRIVE SHIFT LEVER SPEEDOMETER (LT-A750X L2 E28) SPEEDOMETER (LT-A750X L2 E33) SPEEDOMETER (LT-A750XZ L2 E28) SPEEDOMETER (LT-A750XZ L2 E33) STARTER CLUTCH STARTING MOTOR STEERING KNUCKLE STEERING SHAFT THROTTLE BODY TRANSMISSION (1) TRANSMISSION (2) WATER PUMP WIRING HARNESS (LT-A750X L2 E28) WIRING HARNESS (LT-A750X L2 E33) WIRING HARNESS (LT-A750XZ L2 E28) WIRING HARNESS (LT-A750XZ L2 E33)